LG专利收购案中国神秘买家爆光这家公司成立刚满三个月
UVLED风向 · 2021-06-02
LG专利收购案中国神秘买家爆光 这家公司成立刚满三个月 收录于话题 #紫外 6 #uv led 88
前些日子火热整个产业链的LG专利收购案落下帷幕,在经过众多如三安光电、华灿、至芯半导体等等公司猜测一圈后,终于揭开了神秘面纱。
根据提交给美国专利商标局(USPTO)的文件,韩国LG InnoTek已于5月20日将其在美国注册的1968项LED技术相关专利出售给中国的苏州乐琻半导体有限公司(以下简称:乐琻半导体)。
据天眼查相关数据显示,位于中国苏州的乐琻半导体于今年3月2日成立,4月30日注册为法人(在购买专利的三周前注册,推测为了购买专利,急于成立法人),注册资本为8000万元人民币,主要涉及方向为半导体分立器件制造;电子专用材料研发;半导体照明器件制造,截至今天,成立刚满三个月。
天眼查及企查查数据显示,乐琻半导体有多家公司控股,公司所持股份为:苏州乐相企业有限公司(17.68%)、苏州耀琻企业管理合伙公司(17.68%)、董事长沈雁伟(16.37%)、太仓市创新投资发展有限公司(16.37%)、太仓市资产经营集团有限公司(15.55%)、海宁凯聚创投中心(有限合伙)(8.18%)、苏州越琻企业管理合伙企业(有限合伙)(8.18%)。
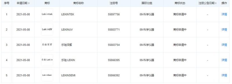
一家成立刚满三个月的公司,从注册公司到建厂、再到投产、产品出售,按照一般进度需要一到两年,乐琻半导体虽然计划建厂,但目前还未从事任何产品生产,并且相关商标也在审批过程中。
此前,UV LED 风向有报道(点击阅读详情)LG为何想要出售其LED专利和设备,主要原因是LG Innotek LED过往业绩不佳导致,从2008年上市到去年,LG Innotek的LED业务连续13年亏损,累计营业损失为1万亿韩元。
据业界人士表示,中国企业从LG Innotek购买专利和设备后,有望获得当地政府的补贴,尽管目前LED行业的盈利能力有所下降,但获得政府补贴也可以在LED照明领域弥补营收不佳造成市场利润下滑带来的影响。
但业界人士推测,LG Innotek出售给乐琻半导体的专利极有可能会再次出售给第三方,据相关媒体报道,除了此次被公开的1968件美国专利外,乐琻半导体还购买了注册在其他国家的LED专利,共达到1万多件。鉴于乐琻半导体刚成立三个月,未实际生产任何产品,不排除作为皮包公司挡枪,背后有实际购买者,因此不排除专利二次出售的可能性。
此次收购,但对于从事UV LED产业的中国公司而言,却可能是极佳的一次机会,能够补充UV LED专利短板,拉进与世界先进UV LED企业的差距,因日本日亚化学将LED产业变成无专利无法竞争的环境,因此LG Innotek在很早之前就便开始为主导UV LED市场而且致力于LED技术研发,因此拥有LG Innotek专利的相关企业,在市场上可以拥有安全销售的LED产品群及话语权,即使竞争公司提起专利诉讼也可以进行反击。
那么对于此次收购案件你怎么看?欢迎在评论区留言!
往期精选
2 Jun 2021
参编单位集结号!2021 UVC LED 白皮书调研启动
强势围观!三安、鸿利秉一、至芯等“十九罗汉”将率先出击紫外展

