行家说Display
LED新型显示产业智库
关注公众号
兆驰、芯聚、强力巨彩、辰显发布最新Micro LED专利
行家说Talk · 2025-08-02
兆驰、芯聚、强力巨彩、辰显发布最新Micro LED专利
本周,兆驰半导体、芯聚半导体、强力巨彩、辰显光电等4企业接连披露Micro LED相关专利最新进展,涉及Micro-LED外延片制备、Micro LED芯片结构、Micro LED承载基板等,致力于提升Micro LED的发光亮度、可靠性、转移良率等。
■ 兆驰半导体:Micro-LED外延片及其制备方法
7月29日,兆驰半导体“Micro-LED外延片及其制备方法”的发明专利进入审中公布阶段。
MicroLED外延片的多量子阱发光层包括依次层叠的第一子层、第二子层和第三子层,第一、第二和第三子层均包括周期性交替层叠的阱前保护层、InGaN量子阱层、阱后保护层和量子垒层;
第一子层和第三子层中InGaN量子阱层的In组分占比均小于第二子层中InGaN量子阱层的In组分占比;阱前保护层包括依次层叠的第一InGaN阱前保护层、AlGaN阱前保护层和第二InGaN阱前保护层,阱后保护层包括依次层叠的InGaN阱后保护层、AlGaN阱后保护层和GaN阱后保护层。实施本发明,可以提升Micro LED的发光亮度。
兆驰、芯聚、强力巨彩、辰显发布最新Micro LED专利
■ 芯聚半导体:Micro-LED芯片结构及其制作方法
苏州芯聚半导体有限公司“Micro-LED芯片结构及其制作方法”的发明专利进入有效授权阶段。
本发明揭示了一种MicroLED芯片结构,所述芯片结构包括透光基板、形成于透光基板上的外延层,外延层包括n型半导体层、发光层和p型半导体层,发光层形成于n型半导体层和p型半导体层之间,还包括反射层,反射层的光反射率大于外延层的光反射率;反射层完全覆盖外延层侧表面,以及部分覆盖透光基板侧表面。
减少芯片侧面出光,提高MicroLED光取出率,降低能量损失,实现具有高亮度显示屏的要求;侧面包覆反射层,也能够阻止外延层内金属迁移,避免芯片正面切割工艺带来的切深、切宽对总体制作良率、裂痕、双晶甚至翻转损失的影响,提高MicroLED芯片的可靠性。
兆驰、芯聚、强力巨彩、辰显发布最新Micro LED专利
兆驰、芯聚、强力巨彩、辰显发布最新Micro LED专利
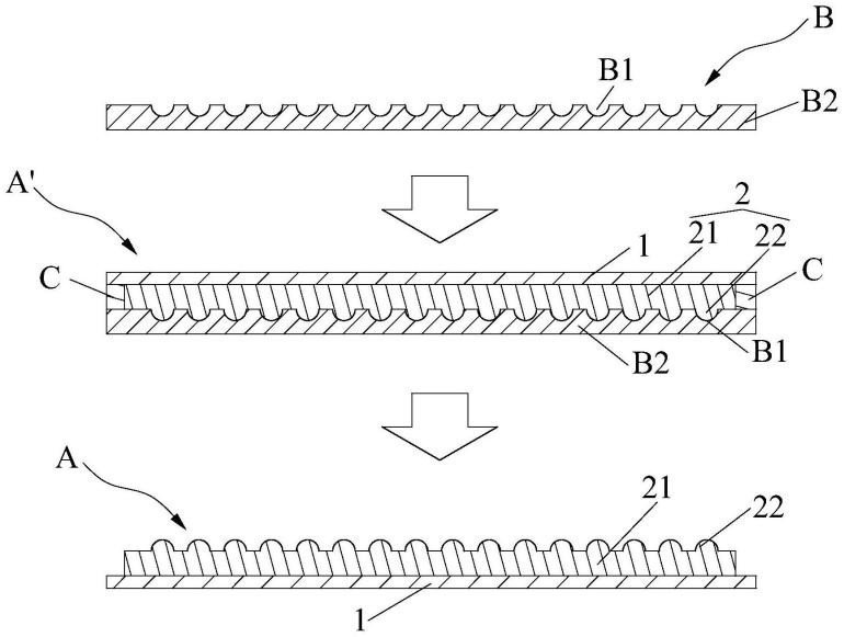
■ 强力巨彩:一种Micro-LED芯片承载基板及其制造方法
7月29日,厦门强力巨彩光电科技有限公司“一种Micro-LED芯片承载基板及其制造方法”的专利进入有效授权阶段。
该MicroLED芯片承载基板包括基板、背面与基板正面连接的连接层以及若干个设置于连接层正面的微结构,微结构具有弹性,各微结构呈阵列分布于连接层正面。
本发明的MicroLED芯片承载基板用于与MicroLED芯片进行临时键合,当采用激光剥离技术(LLO)将MicroLED芯片与蓝宝石衬底相剥离时,该MicroLED芯片承载基板能有效避免MicroLED芯片发生开裂和/或位置偏移。
兆驰、芯聚、强力巨彩、辰显发布最新Micro LED专利
■ 辰显光电:显示面板及其制备方法、显示装置
7月29日,成都辰显光电有限公司“显示面板及其制备方法、显示装置”相关发明专利进入有效授权阶段。
显示面板的制备方法包括提供预制封装基板;将转移基板上的多个MicroLED芯片转移至预制封装基板;将设有多个MicroLED芯片的预制封装基板与驱动基板键合,使得多个MicroLED芯片与驱动基板电连接。
通过上述制备方法,无需在驱动基板上设置具有导电作用的缓冲胶合层,即可实现将MicroLED芯片转移至驱动基板,且MicroLED芯片与驱动基板电连接。
兆驰、芯聚、强力巨彩、辰显发布最新Micro LED专利
END
兆驰、芯聚、强力巨彩、辰显发布最新Micro LED专利
兆驰、芯聚、强力巨彩、辰显发布最新Micro LED专利
相关阅读:
赛富乐斯、歌尔等4企公布Micro LED新专利
兆驰、JBD、赛富乐斯公布Micro LED新专利
您的点赞是我们进步的动力!
行家说Display 向上滑动看下一个
行家说Display 写留言
,选择留言身份
最新活动
往届回顾