行家说Display
LED新型显示产业智库
关注公众号
3项Micro LED技术获新进度
行家说Talk · 2024-05-21
3项Micro LED技术获新进度
近日,Micro LED技术动态频发,镭昱光电、北京数字光芯均公示了Micro LED相关专利。
01
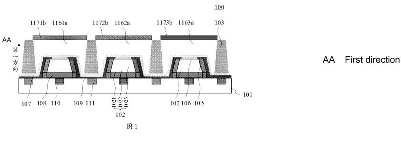
镭昱光电:一种Micro LED微显示芯片及其制造方法
5月16日,镭昱光电公布“Micro LED微显示芯片及其制造方法”的发明专利。
本申请公开了一种Micro LED微显示芯片及其制造方法。
Micro LED微显示芯片包括:
驱动面板;多个LED单元,其设置在驱动面板上,其中多个LED单元一对一地设置有多个与之相对应的LED平台,并且每个LED单元可由驱动面板单独驱动;
一种围栏结构,其设置有多个网格孔,其中多个网格孔分别设置在多个LED平台周围,每个LED平台与相应的网格孔之间形成凹陷区域;
以及波长转换层,其设置在围栏结构上,包括第一波长转换层,其中第一波长转换层设置有多个第一波长转换单元,第一波长转换单元填充相应的凹陷区域,所述LED单元发射第一色光,第一波长转换单元将第一色光转换为第二色光。
3项Micro LED技术获新进度
3项Micro LED技术获新进度
02
北京数字光芯:披露2项Micro LED专利出进展
北京数字光芯集成电路设计有限公司的2项Micro LED发明专利均进入发布阶段。
“基于Micro LED显示面板的显示系统”的发明专利属于投影显示技术领域。包括Micro LED显示面板、微透镜阵列及成像光学系统;
所述Micro LED显示面板和微透镜阵列的几何中心均位于成像光学系统的主光轴上,所述微透镜阵列的每一个微透镜单元的光轴均设置为相对于成像光学系统的主光轴具有不同的倾斜角度,且所述微透镜阵列中的每一个微透镜单元的光轴均通过成像光学系统的光心。
本发明利用微透镜阵列中不同位置的微透镜单元的光轴倾斜,能够使得显示图像光场的边缘部分的亮度提高,从而解决了现有技术中的显示图像暗角问题。
3项Micro LED技术获新进度
3项Micro LED技术获新进度
“Micro-LED显示面板中有源驱动阵列的测试电路”的发明专利涉及集成电路技术领域。
其公开了一种Micro LED显示面板中有源驱动阵列的测试电路,包括由多个相同的开关元件所构成的有源驱动阵列,每个所述开关元件的第二端均连接有一个测试控制单元,所述测试控制单元包括一个测试端和一个控制端,所有测试控制单元的测试端连接在一起形成公共测试端,且所有测试控制单元的控制端连接在一起形成公共控制端。
本发明通过在Micro LED显示面板制造的中间环节中,增加了有源驱动阵列的测试电路及实施对应于该测试电路的测试方法,可以在制造的中间环节对有源驱动阵列进行良率的检测。
3项Micro LED技术获新进度
来源:企查查、世界知识产权组织网页,行家说综合整理
END
相关阅读:
兆驰半导体、国星半导体等公布Micro LED专利
华为、康佳、长虹公布Micro LED专利!
喜欢此内容的人还喜欢不喜欢
不喜欢
不喜欢
行家说Display 向上滑动看下一个
人划线
,选择留言身份
最新活动
往届回顾