行家说Display
LED新型显示产业智库
关注公众号
关于Micro LED专利,华为、康佳、希达、蓝普视讯等披露……
行家说Talk · 2023-04-25
关于Micro LED专利,华为、康佳、希达、蓝普视讯等披露……
2023
04·24
行家说快讯:
近期,行家说Display通过企查查了解到,希达电子、蓝普视讯等多家企业均有Micro LED相关专利在近期进入申请公布阶段,并且华为机器、康佳Micro LED相关专利进入授权阶段。
INSPIRE
THE BEST
01
希达电子:一种有源Micro-LED显示控制系统
3月24日,希达电子在在企查查披露了“一种有源Micro-LED显示控制系统”的专利申请。
关于Micro LED专利,华为、康佳、希达、蓝普视讯等披露……
据介绍,该发明属于Micro‑LED显示控制技术领域,该系统使用多片FPGA核心板,通过一分多的HDMI分配器将HDMI视频信号发送到各FPGA核心板;每个FPGA核心板截取部分区域RGB视频数据并转换得到的PWMD数据信号,与其中一个FPGA核心板产生的并行SWEEP控制数据同步输出,分别经过数模转换及升压最后输出到Micro‑LED显示屏TFT驱动电路,合成完整的视频数据,实现Micro‑LED显示屏的点对点显示。
该发明能够实现高灰阶Micro‑LED显示,同时降低研发阶段的开发难度。
INSPIRE
THE BEST
02
蓝普视讯:一种Micro-LED缺陷光线检测探头及缺陷检测方法
3月14日,蓝普视讯在企查查披露了“一种Micro-LED缺陷光线检测探头及缺陷检测方法”的专利申请。
该申请涉及一种Micro‑LED缺陷光线检测探头及缺陷检测方法,探头包括基体、设在基体上的线性模组、设在线性模组上的移动检测板,设在移动检测板上的激光发射源、设在移动检测板的工作面上并与激光发射源的输出端连接的激光分束器和设在移动检测板上的控制器,线性模组驱动移动检测板在水平面上移动,激光发射源按照MxN的矩阵形式排列,每一个激光分束器处均部署有一个CCD图像传感器,控制器与驱动装置、激光发射源和CCD图像传感器进行数据交互,用于根据CCD图像传感器的成像识别异常的Micro‑LED单元。
关于Micro LED专利,华为、康佳、希达、蓝普视讯等披露……
该申请公开的Micro LED缺陷光线检测探头及缺陷检测方法,借助于非接触式的激发发光检测方式来对Micro LED晶粒进行过饱和检测,结合区域化的检测方式来得到更快的检测速度。
关于Micro LED专利,华为、康佳、希达、蓝普视讯等披露……
INSPIRE
THE BEST
03
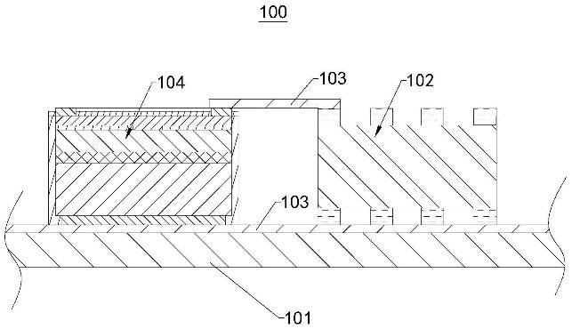
康佳:一种Micro-LED的转移基板及其制备方法
4月18日,康佳在企查查披露 “一种Micro-LED的转移基板及其制备方法”的专利申请,目前进入授权阶段。
该发明公开了一种Micro‑LED的转移基板及其制备方法。
通过在键合胶层表面上形成多个键合胶凸起,所述键合胶凸起可形变并用于与Micro‑LED键合连接,分散了由于所述键合胶与翘曲的外延生长基板上的Micro‑LED进行压制键合而产生的内应力,降低了键合胶层受到的应力,使得Micro‑LED与转移基板进行临时键合时,键合胶能够更完整的粘着Micro‑LED,减小由于外延生长基板翘曲导致的临时基板中心与外围的键合胶的粘力差异,使得外延生长基板上的Micro‑LED都能与转移基板上的键合胶键合,消除了键合环现象。
INSPIRE
THE BEST
04
华为机器:Micro-LED芯片及其制作方法、显示面板
本申请提供Micro‑LED芯片及其制作方法,以及包括该Micro‑LED芯片显示面板及显示终端。
该Micro‑LED芯片包括外延层、N电极、P电极及连接电极。连接电极凸起于P电极背离外延层的一面,连接电极的表面能与P电极的表面能大小不同。
关于Micro LED专利,华为、康佳、希达、蓝普视讯等披露……
制作显示面板时,驱动电路与连接电极进行连接,由于本申请的连接电极的表面能与P电极的表面能不同,因而将Micro‑LED芯片从衬底上剥离时,用于固定Micro‑LED芯片及衬底的透明胶材在连接电极上不残留或者残留于透明胶材的量少于在P电极上残留的量,能够保证在不损坏Micro‑LED芯片的前提下,保证Micro‑LED芯片与驱动电路的有效连接。
END
关于Micro LED专利,华为、康佳、希达、蓝普视讯等披露……
相关阅读:
华为公开Micro LED芯片转移方法相关专利
MLED技术实现产业化,康佳披露2022业绩
对话希达电子王瑞光:理性看待COB价格战
关于Micro LED专利,华为、康佳、希达、蓝普视讯等披露……
↓↓↓了解详情
最新活动
往届回顾