行家说Display
LED新型显示产业智库
关注公众号
【专利解密】TCL的Mini-LED背光显示器技术
行家说Display · 2020-02-03
Mini-LED背光已成为液晶面板升级的重要方向。在一年一度的全球性消费电子展盛会——美国拉斯维加斯CES展会上,TCL展示下一代显示技术Mini-LED。这一款产品的显示屏来自TCL华星MLED星曜屏,向世界展示TCL华星在显示领域的科研力量。
【专利解密】TCL的Mini-LED背光显示器技术
在显示领域,HDR已经成为高端电视的标配,而Mini-LED技术可以轻松实现目前的HDR标准。未来,Mini-LED将在显示市场加速渗透,让显示回归画质本身,也将改善LCD面板产品在市场份额抢夺上对OLED面板产品毫无还手之力的局面。
TCL华星MLED星曜屏致力于全方位提升显示品质,星曜屏NTSC高达100%,比普通产品增加38%+的色域享受,100%还原真实精彩场景,不漏掉任何一抹色彩。画质体验可媲美OLED,可以给观者带来全新的震撼视觉体验;传统LCD对比度一般约1000:1,而双屏的静态对比度约为50万:1。
TCL华星MLED星曜屏对比度高达100万:1,拥有更加完美的细节表现;OLED显示屏会出现“图像持久”或“烧屏”现象,当一个新的图像出现在屏幕上时,仍然会出现之前图像的一些残影。TCL华星星曜屏拥有解决残影现象的解决方案,动态画面更加流畅清晰。
液晶电视越来越薄,特别直下式电视,想做得超薄,在结构和光学上是很大的挑战。基于此,TCL在18年12月27日申请了一项名为“一种直下式背光模组及显示器”的发明专利(申请号:201822219048.8),申请人为深圳TCL新技术有限公司。
根据目前公开的专利,让我们一起来看看TCL的这项直下式显示器技术吧。
【专利解密】TCL的Mini-LED背光显示器技术
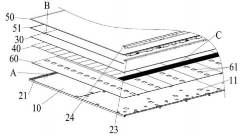
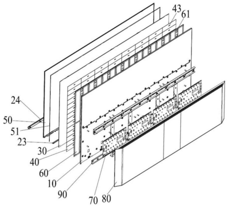
如上图为直下式背光模组的爆炸图示意,直下式背光模组包括:背板10、光学组件30、设置在背板正面并位于光学组件外围的中框20以及位于背板和光学组件之间的散热片60和mini led灯板40。散热片与背板连接,mini led灯板与散热片连接,光学组件与中框连接并与mini led灯板面面接触。
现有的直下式液晶电视的OD值一般都大于8mm,OD值越大则电视的厚度也越大,所以普通直下式液晶电视会比较厚。而该发明采用mini led灯板,mini led灯板可以与光学组件接触,无需设置间隙(即OD值为零),mini led灯板发出的光即可均匀地照射在光学组件上。
因此,该技术使得直下式背光模组的厚度得到大大减小。同时,相对于现有的凹槽型背板,该实用新型中背板采用平板,更加薄,也减小了直下式背光模组的厚度。
同时,mini led灯板产生的热量通过散热片传递到背板,可以进行充分散热,避免mini led灯板和光学组件过热。散热片可以采用铝或铜等导热材料制成,散热片的大小与mini led灯板的大小一致,便于充分与mini led灯板接触并将mini led灯板的热量散去。
【专利解密】TCL的Mini-LED背光显示器技术
如上图为直下式背光模组正面的结构图,miniled灯板包括:安装板和若干个mini led灯,mini led灯以点阵的方式设置在安装板与光学组件相对一侧。安装板与散热片相对一侧设置有若干个插座,散热片上设置有供插座穿过的插座孔。具体来说,mini led灯嵌入在安装板中,mini led灯通常只有80-300μm,几乎排满整个安装板,且每个mini led灯可以独立发光,可以均匀发光到光学组件。
散热片可以是一体设置,也可以由多个散热件组成,例如,在灯区分为14排8列时,可以设置8个散热件,每个散热件对应一列灯区,则每个散热件上设置有14个插座孔,如上图所示。
【专利解密】TCL的Mini-LED背光显示器技术
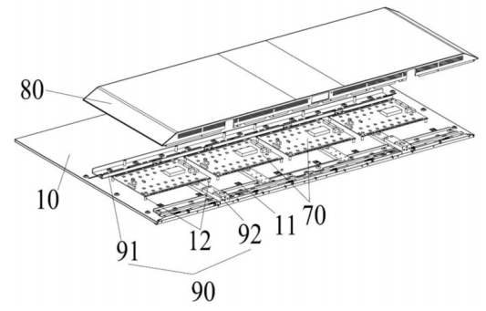
如上图所示为直下式背光模组背面的结构图,背板背面设置有机芯、后壳以及加强梁,机芯和加强梁位于后壳内。机芯、后壳以及加强梁位于背板背面的底部,背板背面的顶部是超薄设计,机芯通过插座与mini led灯电连接,背板上设置有走线孔,连接机芯的电线可依次穿过走线孔和插座孔并与插座连接,从而实现机芯和mini led灯的导通。
加强梁用于加强背板的强度,防止背板变形。加强梁包括:位于机芯两侧的两个横梁和若干个连接两个横梁的纵梁。纵梁位于机芯与背板之间,由于立柱使得机芯与背板之间具有间隙,纵梁可从间隙中穿过。横梁和纵梁均与背板接触,可以起到较好的加强效果,两个横梁和若干个纵梁形成楼梯状,同时后壳底部设置有散热孔用于散热。
以上就是TCL的mini led装置结构,Mini-LED正成为显示领域的“宠儿”,2019年以来,TCL、苹果、海信、华硕、群创、友达、京东方等巨头纷纷推出Mini-LED背光或类似技术的电视、显示器、VR和车载显示等终端产品。mini led具有亮度高,寿命长,成本低,对比度高的特点,因此被各大厂商用来作为显示设备,而TCL的这项专利也将成为其产业的重要支撑之一。
(来源:集微网)
最新活动
往届回顾