行家说Display
LED新型显示产业智库
关注公众号
三星智能机屏幕新专利曝光:隐藏刘海、灵活可延展
行家说专利 · 2019-10-18
据91mobiles报道,近日三星手机新设计专利曝光,采用了柔性屏幕,为可伸缩式设计。
三星智能机屏幕新专利曝光:隐藏刘海、灵活可延展
三星智能机屏幕新专利曝光:隐藏刘海、灵活可延展
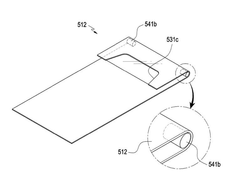
据了解,近日三星手机向美国专利商标局(USPTO)提交的专利说明曝光,专利草图中展示了一种具有柔性屏幕的智能手机。
说明中提到,这款手机在标准模式中屏幕的宽高比为16:9,看不到前置摄像头和各种传感器。
如果用户需要自拍、视频通话或者想扩大屏幕面积,可以通过手机上方的旋转装置将手机屏幕伸长,变成18:9的宽高比。
当屏幕完全伸长时,可以看到,采用了刘海屏设计,前置摄像头和传感器都“藏”在这个“刘海”里。
目前尚不清楚上方旋转装置的运行方式,91mobiles猜测可能是检测到打开的相机应用程序或使用专用按键时会自动运行。
此外,整个手机带有一个额外的后部面板,旋转装置和部分显示屏封装在里面。
来源:IT之家
相关标签
最新活动
往届回顾