行家说Display
行家说三代半
行家说储能
公众号矩阵
行家说显示
行家说三代半
行家说储能
行家说机器人
视频号矩阵
行家说显示频号
行家说三代半频号
行家说储能视频号
首页
资讯
资料
季报
白皮书
活动
极光奖
行家说Display
LED新型显示产业智库
关注公众号
OPPO折叠手机专利:折叠屏+升降摄像头
行家说Display
·
2019-06-14
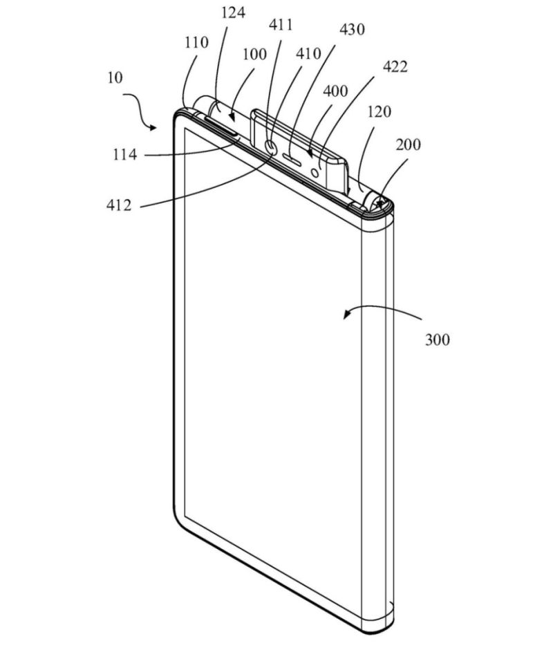
近日,又一项OPPO申请的折叠屏专利被曝光。
专利图显示,OPPO的折叠屏手机将会采用一种向外折叠方案。同时,OPPO还在折叠屏手机上搭载了时下热门的升降式的相机,这使得该机正面的屏占比更进一步。(来源:OPPO)
每日热榜
•
LED产业百花怒放ISE 2026,聚积科技驱动LED应用不设限
•
艾迈谱重磅推出Micro-MiP显示面板系列产品,为显示屏客户赋能!
•
ISE 2026 圆满收官 | 科伦特LED显示方案闪耀巴塞罗那
•
ISE 2026直击30家企业 | MiP、COB竞合成焦点
•
玻璃基Micro LED密集动态:扩产、订单
•
ISE盘点 | TOP 60 最火LED显示相关产品
•
艾比森新品2026国际首秀,包揽多项ISE大奖
•
国星光电披露MIP新战略
•
老生常谈的“烧屏”,真的没有办法避免么?
•
ISE 2026 | 科技有温度,兆驰Mini/Micro LED产品矩阵引全球关注
最新活动
报名中
往届回顾
扫码关注公众号