行家说Display
LED新型显示产业智库
关注公众号
Micro LED巨量转移无解?京东方亮出绝活…
AVC产业链洞察 · 2019-05-27
自从苹果收购LuxVue之后,Micro LED成为行业关注焦点。具有TFT背板技术优势的面板厂商正在积极研发Micro LED技术。与OLED相比,Micro LED显示面板的使用寿命和可视角度均优于OLED显示面板,Micro LED显示技术成为目前显示技术领域的研究重点。全方位技术布局的京东方也非常重视Micro LED研发。京东方去年在互动平台上表示,Micro LED是指微发光二极体显示器,为新一代的显示技术,结构是微型化LED阵列承继了LED的特性,但因为目前技术尚未成熟,还需要一段时间的发展。公司已开展了Micro LED的技术研究,并取得一定进展。但是由于Micro LED技术难度较高,至今大部分产品还处于样品阶段。其中巨量转移是一道难以逾越的关卡。因为转移Micro LED的过程较繁琐,导致Micro LED显示面板的制备过程复杂且制备效率较低。
Micro LED巨量转移无解?京东方亮出绝活…
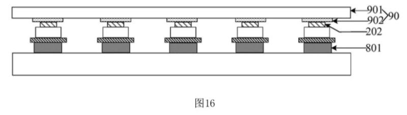
近期,国家知识产权局公布了京东方《微型LED的转移设备、显示基板的制造系统及制造方法》发明专利申请。
Micro LED巨量转移无解?京东方亮出绝活…
从该发明专利申请可以看出,京东方提出了一个更加高效的巨量转移方案——主体结构上阵列设置有多个磁吸单元,且该多个磁吸单元的排布方式与阵列基板中多个指定像素区域的排布方式相同,每个磁吸单元可以吸附一个微型LED。该转移设备可以同时吸附多个微型LED ,并将吸附的多个微型LED一次性向阵列基板转移 ,因此与相关技术相比,简化了显示基板的制备过程,提高了显示基板的制备效率。
最新活动
往届回顾