行家说Display
LED新型显示产业智库
关注公众号
特斯拉 | 公开变色天窗新专利,通过LED自由调节进光量
CINNO · 2019-05-21
特斯拉 | 公开变色天窗新专利,通过LED自由调节进光量
来源 :太平洋电脑网
特斯拉 | 公开变色天窗新专利,通过LED自由调节进光量
据外媒报道,近日,特斯拉公布了一项关于新型天窗的专利,该天窗带有电子着色和集成照明系统,在白天,用户可通过电控着色系统调节车内光线,在夜间,用户可通过LED照明层控制照明,从而使车内保持理想的光量。
特斯拉 | 公开变色天窗新专利,通过LED自由调节进光量
Model 3 2019款Performance高性能全轮驱动版 (图片来源:太平洋电脑网)
在本项专利申请中,Joong Min Yoon工程师被特斯拉列为唯一发明人,其有着20年的显示屏幕研发经验。据悉,早在2017年6月,Joong Min Yoon工程师就已经为特斯拉提交了这项新天窗专利申请,近日该专利才被公布。
特斯拉 | 公开变色天窗新专利,通过LED自由调节进光量
特斯拉天窗专利图(图片来源:太平洋电脑网)
特斯拉 | 公开变色天窗新专利,通过LED自由调节进光量
特斯拉 | 公开变色天窗新专利,通过LED自由调节进光量
特斯拉天窗专利图 (图片来源:太平洋电脑网)
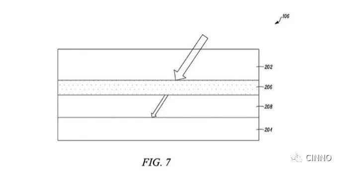
据特斯拉称,该天窗为多层结构,两个透明层之间设置有可电控着色层、透明照明层。简单来说,若外界光线强,用户即可通过车内屏幕或远程App来调节着色层,使车内光量降低;若车内光线不足,用户即可使着色层变亮,允许部分光线进入车内,在夜间,用户还可开启透明照明层,多个可调节亮度、颜色的LED发光二极管即可对车内补光。
- END -
相关标签
asm
最新活动
往届回顾