行家说Display
LED新型显示产业智库
关注公众号
特斯拉新天窗专利:多层结构调光,提供彩光照明
CNLED网 · 2019-04-30
通过公示的专利信息,我们能够有望提前看到汽车厂商对于未来车辆的创意设计。根据特斯拉最新获批的技术专利,能够根据驾驶员和乘客的偏好来调整车内的光线。援引外媒Electrek报道,这项专利名称为“高级天窗照明系统”,概述了一种采用多层架构的天窗,并具备传统玻璃所无法具备的一些优势。
特斯拉新天窗专利:多层结构调光,提供彩光照明
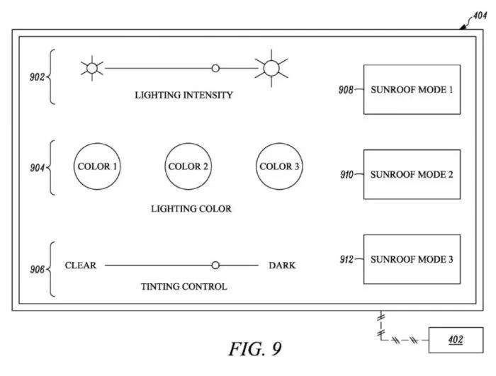
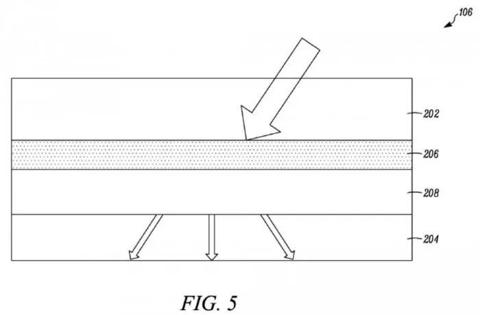
首先最直观的优势就是添加了一层可电控的调光材料,能够限制通过天窗进入的光量。这有明显的好处,可以防止阳光照顾驾驶员的视线或乘客的舒适感。第二个优势就是创造属于自己的光源。在天窗内嵌入了一层可以发光的层,这样在没有外部光源的情况下天窗依然能够为车内提供有限的照明,并且允许驾驶员和乘客通过中控台的娱乐系统对颜色和强度进行调整。
特斯拉新天窗专利:多层结构调光,提供彩光照明
而这是同时具备遮光和发光的天窗专利。而事实上这两套系统已经出现在高端汽车中,梅赛德斯 - 奔驰的Magic Sky Control功能可以在天窗的玻璃上配备了电动调光器;而宝马的Sky Lounge则在天窗中嵌入了LED照明。
特斯拉新天窗专利:多层结构调光,提供彩光照明
特斯拉新天窗专利:多层结构调光,提供彩光照明
| 来源:cnBeta
最新活动
往届回顾