【专利解密】你想了解的“Google 折叠屏”
显示世界 · 2019-03-29
在Google公司申请的专利号为“WO 2018/226829 A1”的专利中公开了一个“具有弯曲限制的可折叠计算设备”。专利中提到,现代计算机设备经常试图在便携性和功能性之间实现平衡,在具有在单个表面上提供丰富内容的信息显示的显示器之间存在张力,因此,如果折叠相对薄的显示屏会导致显示器的折叠处的半径弯曲小,这可能使显示器的敏感部件很容易受损,因此,要想使用相对较薄的折叠屏,应当不超过其可弯曲限制的最小半径。
Google此计算设备包括用于执行储存指令的储存器,用于执行指令的处理器,用于响应于指令的执行而显示信息的可折叠显示屏层,弯曲限制层,其耦合到可折叠显示层并且基本上平行于可折叠显示层的显示表面布置。弯曲限制层被设置为当弯曲限制层的弯曲弯曲半径小于可折叠显示层的阈值曲率半径时非线性地增加其刚度,其阈值曲率半径为大于1mm且小于20mm。
图1是包括可折叠显示器102的计算设备100的透视图,其中可折叠显示器处于部分折叠状态。装置100具有可折叠显示器102,可折叠显示器102安装成使其可视面向内折叠。还可以将可折叠显示器102安装在设备100的相对侧上,使得显示器向外折叠可视面(未示出)。图2是计算设备100的透视图,其中显示器102处于折叠状态。专利中提到,可折叠显示器102可以是TFT(薄膜晶体管),OLED(有机发光二极管)显示器或其他适当的显示技术。可折叠显示器102可包括适当的电路,用于驱动显示器以向用户呈现图形和其他信息。
如图1所示可折叠显示器102可包括第一相对平坦的刚性或半刚性部分112,第二平坦刚性部分114和第三可弯曲部分116。显示器102可以是连续可弯曲的,并且可以卷起,如在卷轴中,可折叠部分116具有可弯曲部分116,其允许可折叠显示器绕轴线弯曲。可折叠显示器102的可弯曲部分116允许显示器102以具有半径的弧形弯曲,并且当可弯曲部分的半径达到指定的最小半径时,可弯曲部分可以变得刚性。可以选择该最小半径以防止显示器在如此小的半径内弯曲,使得显示器的易碎部件会被破坏。在一些实施方式中,最小半径大于或等于2.5毫米,或大于或等于3.0毫米,或大于或等于5毫米。因此,当弯曲半径大于最小半径时,可弯曲部分可以是柔性的,然后当弯曲半径等于或小于最小半径时,可弯曲部分变硬。
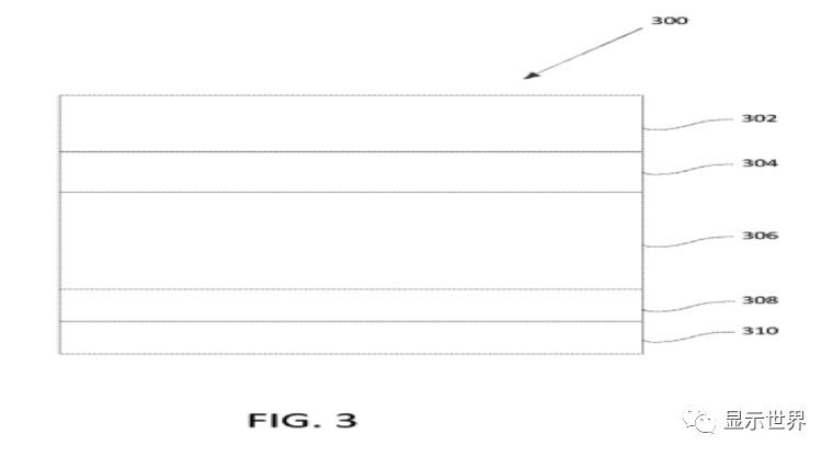
可折叠显示器层,如图3所示,包括:302盖层,304粘合剂层,306 OLED层,308弯曲限制层和310 背衬层组成,柔性有机发光二极管(OLED)层306可由弯曲限制层308和背衬膜310支撑,或者,OLED层306可以在弯曲限制层308和背衬膜310之间。光学透明的粘合剂层304可以施加到柔性OLED层306的前表面。覆盖窗膜302可以应用于光学透明的粘合剂层304,以保护前侧的器件。
如图4所示,弯曲限制层404可以附接到显示层402为显示层402提供支撑,并且还可以防止显示层围绕小于其最小可容忍弯曲半径的半径弯曲。当弯曲极限层404的半径弯曲大于Rmin时,弯曲极限层404可以是相对柔性的,然后当弯曲半径接近或匹配Rmin时,弯曲极限层404可以变得僵硬和不可弯曲。可以通过使得可折叠显示器400弯曲的每单位施加力的弯曲半径的变化来参数化刚度。
如图5所示,当显示器围绕180度弯曲对折时,当施加力F以弯曲可折叠显示器时,参数x表示弯曲半径的两倍。然后可折叠显示器400的刚度可以通过导数,k=dF/dx参数化。可折叠显示器的强度可以表征为可折叠显示器400在显示器故障发生之前可以承受的最大力F.
当可折叠显示器400以其折叠构造平放时,它可以通过重力在显示器的上折叠部分上保持其折叠构型,使得需要向上部施加零附加力。折叠部分用于将可折叠显示器保持在其扁平折叠构造中,或者,在其他实施方式中,可以通过诸如闩锁,磁铁等外部装置施加额外的力以将显示器保持在其折叠构造中。在该配置中,弯曲的半径可以被定义为极限半径Rlimit,即,弯曲限制层404限制可折叠显示器的进一步弯曲的半径,除非施加额外的外力。为了使可折叠显示器从该配置进一步弯曲,需要额外的外力来克服弯曲限制层的刚度。因此,可折叠显示器的示例刚度曲线折叠180度,其中折叠显示器达到极限半径,其显示作为x的函数的刚度,如图5所示。
根据专利看来,具有刚度曲线的可折叠显示器可能是有利的,一旦达到极限半径,该刚度曲线表现出相对急剧的刚度增加,使得可折叠显示器可以容易地折叠成其折叠配置,其中Rlmit接近于Rmin,然后可折叠的显示器将变得相当僵硬,使得它保持在这种配置中,尽管力将其按压到小于半径的半径,弯曲限制层404显示在图4中的弯曲的外侧,也可以在弯曲的内侧,如图6所示,在这种情况下,显示器显示的内容位于弯曲的外侧,背衬膜620位于内侧弯曲。
继续关注,Google折叠屏实现折叠的最核心的技术---弯曲限制层。
图7A是弯曲限制层700的示例实施方式的示意图。如图7A所示,弯曲限制层700是由弯区段702与薄膜(可以是箔或复合材料)706组成。弯曲限制层700可包括多个相邻的区段702,每个区段702可具有附接到薄膜706的基部704和头部708,且头部708宽于基部704。当弯曲半径R>可容忍最小弯曲半径Rlimit 时,每个相邻区段分开,当弯曲半径R≤可容忍最小弯曲半径Rlimit时相邻区段相互接触。
在专利中提到,基部704和薄膜706之间的粘合线被薄膜706的一个表面的50%(一种可能性)覆盖。换句话说,粘附于薄膜706的表面上的基部704不是完全覆盖了整个表面面积,而是薄膜702表面面积的一半是未粘附的。因此,需要注意的是,相邻区段702的基部704不是沿进入页面的方向连续地粘结到薄膜706表面上,而是相反,相邻段702的基部704和薄膜706之间的粘合位置可以在进入页面的方向上发生一定偏移,如下图7B所示。
图7B是薄膜的顶视图,示出了多个粘合位点,在该粘合位置,薄膜706粘合到不同相邻区段702的基部704.例如,粘合位置732,734,736的第一组730可以粘合薄膜706到第一区段,其在薄膜706上的足迹由矩形730示出,并且第二组740的粘合位点742,744,746可以将薄膜706粘合到第二第一区段,其第二区段在薄膜706上由于相邻区段的粘合位置沿着方向750彼此偏移,因此,因为相邻区段的结合位置沿着方向750彼此偏移,所以当弯曲限制膜弯曲成小半径时,相邻区段之间的未直接结合到区段的膜706的部分可以相对容易地弯曲。然而,即使足迹730和740彼此对接,当弯曲限制膜弯曲时,在第二区段下方的粘合位置732和762之间的薄膜(其在薄膜706上的覆盖区由矩形740示出)照样可以弯曲。
每个区段702的头部708可以具有垂直侧面710,当薄膜706是平坦的时,垂直侧面710不完全垂直于薄膜706,而是当它们从远处延伸时彼此成角度。当弯曲限制层700弯曲成等于可容忍最小弯曲半径Rlimit的半径时,相邻段702的垂直侧710变得彼此紧密接触并且彼此平行,从而它们形成刚性,坚固的材料层,具有弯曲半径R ≤可容忍最小弯曲半径Rlimit的高刚度,对抗外界施加的额外的压力,使得显示层免于外界额外压力的破坏,如果弯曲半径R <可容忍最小弯曲半径Rlimit 显示器材料就会被破坏。
今天的发明内容您看懂了么?如果没有看懂可以想想咱们的手,不难想象,如果手握成拳头之后再想继续弯曲就会受到筋骨的拉力不可以再弯曲,如果继续给它施加压力的话手指就会断掉,因此这个时候的半径就是可可以容忍的最小弯曲半径Rlimit,那么弯曲限制层的作用就是筋骨的作用。把头部708想象成手指甲方向区,把基部704想象成手指根部方向区,那么手心部分就相当于薄膜706,手指和手指之间的距离就相当于薄膜不被完全覆盖的区域,那么大家可以试一下,当5个手指全部张开的时候,彼此之间是不是有距离,而且有一定的位置上的偏移?那么,当5个手指全部弯曲的时候,是不是可也看到手指甲那个地方是不是也是自然偏移且彼此靠拢的?靠拢之后就成了拳头,大家都知道拳头是最硬的,此时就是到达了其具有R ≤Rlimit的高刚度,对抗外界施加的额外的压力,使得我们的手免于外界额外压力的破坏,如果R

