行家说Display
LED新型显示产业智库
关注公众号
微软获柔性电池专利 解决未来柔性屏设备的电池瓶颈
PDPI · 2019-01-30
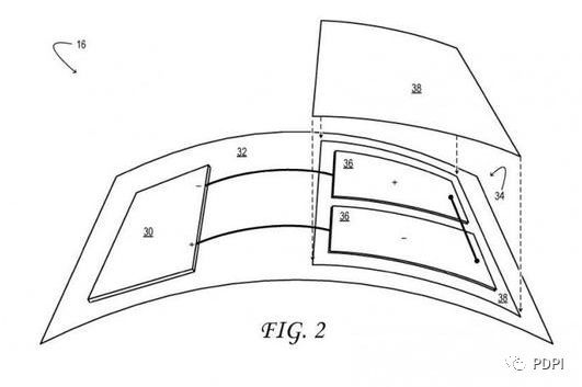
在微软勾勒的宏伟蓝图中得益于柔性屏技术的成熟,平板可以折叠成手机放进口袋中。然而束缚这个理想的最大桎梏就是电池,它不仅臃肿而且难以弯曲,如果强行操作可能会增加起火爆炸的安全隐患。根据美国商标和专利局(USPTO)本月24日公示的技术专利,微软描述了一种拥有极高柔性的电池组件,未来可能会装备在公司的柔性屏科技产品中。
微软获柔性电池专利 解决未来柔性屏设备的电池瓶颈
在专利描述中写道:“这是一种包含了柔性正电极和柔性负电极的电化学能量存储单元。正负电极都会在柔性的金属丝网上部署镓基液态金属。电化学能量存储单元还包括膜,该膜具有与柔性正电极接触的表面和与柔性负电极接触的相对表面。”
微软获柔性电池专利 解决未来柔性屏设备的电池瓶颈
微软获柔性电池专利 解决未来柔性屏设备的电池瓶颈
微软获柔性电池专利 解决未来柔性屏设备的电池瓶颈
微软获柔性电池专利 解决未来柔性屏设备的电池瓶颈
最新活动
往届回顾