行家说Display
LED新型显示产业智库
关注公众号
从2019年手机八大趋势 看苹果的下一步棋(全文)
光电与显示 · 2019-01-28
2019年手机有哪些趋势?多摄像头成为主流?运行内存标配上10GB?开孔屏爆发?还是说可折叠手机的发展元年开始?
我们决定从拍照、内存、全面屏、手机形态、5G、屏幕指纹、屏幕发声、快充这些方面,探讨一下2019年智能手机的八大发展趋势。
并且试图从中分析出,以不变应万变的苹果的下一步棋应该怎么下。
拍照:多摄成为趋势 三摄、四摄、五摄
自打华为P20 Pro问世以后,【三摄】这大卖点就不是特别新鲜了。后续我们也能够看到有那么一两款搭载三摄的产品,有OPPO R17 Pro,还有华为Mate 20。
因此我们能够体会到,多摄像头已经成为了手机对于拍照层面的发展趋势之一,并且三摄极有可能会发展成像双摄那样,最终成为主流配置。
从2019年手机八大趋势 看苹果的下一步棋(全文)
首款全球四射手机:三星Galaxy A9s
在中关村在线之前的新闻中,我们还透露过四摄并非是终点,爆料称诺基亚在研发一款五摄像头的手机,只是迟迟未露面。
从2019年手机八大趋势 看苹果的下一步棋(全文)
诺基亚9 PureView(图片引自NPU)
苹果对多摄是否跟进?
对于多摄像头的趋势,苹果是否跟进?之前有专业人士分析,2019年的新品iPhone将会采用三摄像头设计,究竟苹果该如何决策,现在定论还没到那个时候。
产品:iPhone XS(全网通) 苹果 手机
运行内存:Android已干到10GB
回顾2018年,确实有很多旗舰手机用8GB RAM作为机型标配,这种趋势也将会在2019年的舞台上得以延续。还没等8GB的功效还没能让消费者领会透彻,更高级别的10GB RAM也随之被干出来了,像一加6T迈凯伦版、红魔Mars电竞手机、vivo NEX双屏版均用上了10GB的运行内存。
中国手机厂商在配置方面从不低调,2018年12月18日联想发布骁龙855的联想Z5 Pro GT时,便为其提供了12GB LPDDR4x的超大内存。这款机子在2019年1月29日正式开售,因此将会成为第一个吃上12GB内存螃蟹的产品。
从2019年手机八大趋势 看苹果的下一步棋(全文)
再看看苹果这边,2018年推出的iPhone XS也仅仅只有4GB的运行内存,那么2019年的iPhone肯定不可能直接将内存一下子干到8GB、10GB或者更高,因为步子迈得太大容易“扯蛋”。都说iPhone有三大法宝,第一是优良的渲染机制;第二是iOS;第三是闭源形式的系统。依托这三点,iPhone就算内存参数不高,也能够做到流畅的用机体验。
苹果对大内存是否跟进?
苹果从不以运行内存为卖点,推崇的永远是自家的芯片。就2018年的iPad Pro来说,1TB存储的型号也只有6GB的RAM。所以说,我们并不追求今年的苹果会推出10GB内存以上的iPhone,但如果iOS 13的表现足够给力,那么2019年的新iPhone可能会提供6GB运行内存。
产品:iPhone XS(全网通) 苹果 手机
开孔式屏下前置摄像头技术——解决全面屏的新方案
在全面屏的设计上,各大手机厂商可谓是大开脑洞,通过升降机构,滑屏,双屏等等让手机的正面屏占比更高。在2018年底所推出的开孔屏也是方案之一,华为,三星推出了屏幕挖孔的手机,例如三星Galaxy A8s、华为nova4、荣耀V20。相比较刘海屏,在颜值上有着更好的表现。
目前屏幕开空设计有“通孔”和“盲孔”两种设计方案。
“通孔”的设计方案还有个好处,摄像头的厚度部分融入屏幕厚度之中,可以大大缩减机身的厚度。
从2019年手机八大趋势 看苹果的下一步棋(全文)
华为nova4
盲孔比通孔方案孔径更小,屏幕更完整,同时华为强调挑战了工艺极限,从上到下由玻璃盖板、液晶面板、背光层、前置摄像头四部分组成,其中摄像头中心对准公差小于0.1毫米,领先业界30%。
不足之处也显而易见,不管开的孔多么小,孔与手机边缘之间的空间都将成为荒废地带。作为解决全面屏的临时方案,2018年底发布的那三三两两的挖孔屏只是牛刀小试,这种方案还会在2019年的行业中继续采用。
苹果对开孔方案是否跟进?
我们猜想一下,苹果会“效仿”吗?还真有可能。2018年6月27日,苹果向美国专利商标局申请了屏下摄像头的解决方案,下图可以看到,苹果主要在正面屏幕的右上角进行开孔,但具体会在孔内塞进哪些传感器苹果并未提及。
从2019年手机八大趋势 看苹果的下一步棋(全文)
如果说苹果希望保留面部ID所需要的原深感摄像头模组,那么所需的空间肯定一个孔解决不了,也就意味着苹果还有其他的生物识别方案。就目前来看,能够让用户兴奋和期待的,就是新iPhone的开孔摄像头会利用三星OLED屏幕的通透性,真正的隐藏在屏幕的下方,并不影响屏幕的正常显示,从而做到真正的全面屏。当然这只是我个人的一点猜想。
产品:iPhone XS(全网通) 苹果 手机
可折叠手机:创新形态很有新鲜感
刷抖音的朋友们应该略有所见,最近抖音出现了较多的可折叠手机视频。有ROYOLE旗下的折叠手机,还有小米即将发布的折叠手机。
从2019年手机八大趋势 看苹果的下一步棋(全文)
从2019年手机八大趋势 看苹果的下一步棋(全文)
图片截自抖音
实际上,宣称自行研发可折叠显示面板,并且预热多年的厂商是三星。三星官方称,2019年将正式出货搭载Infinity Flex屏幕的手机。到底三星说的是小米、其他厂商的产品,还是自己旗下的产品我们还不得而知。
但是我们能够察觉到,折叠手机的浪潮即将来临,从近半年的新闻来看,LG、OPPO、华为三家厂商正在研发折叠手机已经是板上钉钉的事情。让我们回顾一下:
华为:将要联合国产天马微电子股份有限公司推出首款折叠屏手机
从2019年手机八大趋势 看苹果的下一步棋(全文)
天马展出新一代AA Hole LTPS全面屏
根据曝光消息显示,这款可折叠智能手机将会配备8英寸可折叠屏幕,使用第六代有机发光二极管(OLED)面板,其中可折叠显示屏由京东方负责。不过由于京东方目前仍对有机发光二极管研发存在疑问,所以这款产品短期内不会发布。消息人士称,京东方已与两家公司合作推出了四款可折叠产品。据了解,2019MWC上会发布一款华为旗下的折叠屏手机。
OPPO:申请可折叠手机专利 再次领跑行业
从2019年手机八大趋势 看苹果的下一步棋(全文)
外媒曝光OPPO可折叠手机专利(图片引自LetsGoDigital)
根据国外科技媒体的最新报道,截至目前,OPPO已经为可折叠手机申请了多项技术专利,包括“旋转机制和可折叠移动终端”、“铰链组装,旋转机构和可折叠移动终端”等。
LG:目前已与合作伙伴研发折叠手机
LG官方也承认,目前已经与合作伙伴研发可折叠手机,但是不急于成为首发折叠手机的厂商。
从2019年手机八大趋势 看苹果的下一步棋(全文)
LG折叠手机
据了解,这次的消息是LG移动的首席执行官Hwang Jeong-hwan在LG V40 ThinQ的发布会上透露的,他表示:“公司目前已经和多家合作伙伴开展紧密合作,目的是将这个极具挑战的可折叠概念商用。“不过该高管也坦言,并不急于成为首家推出这类智能设备的公司。”
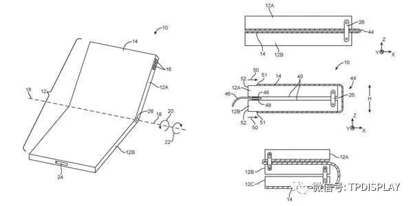
苹果是否跟进折叠屏?
那么苹果会采用折叠手机技术吗?从短期来看,苹果并不会发布折叠手机的iPhone,但是从长远角度来看,苹果会涉足这一领域。当然了,这种说法并非口说无凭。
苹果在18年下旬获得了一项新专利,主要是关于通过铰链结构实现折叠屏。这意味着苹果也在考虑折叠屏的方向,至于未来会不会采用该方案还要看折叠屏有没有市场,消费者买不买账。
从2019年手机八大趋势 看苹果的下一步棋(全文)
苹果这项专利主要针对柔性显示设备,通过增加铰链结构,实现柔性显示屏的弯曲效果。因此,苹果近几年可能都不会考虑折叠屏方案。
产品:iPhone XS(全网通) 苹果 手机
5G:Android加急部署产品 iPhone则无望
5G目前作为智能手机产业的新鲜卖点,已经预热了有两年左右的时间。并且在2018年底出现许多分享5G研发技术的厂商,它们也承诺会在2019年推出支持5G网络的手机。
像联想已经推出5G手机:联想Z5 Pro GT版,以及华为在2019年1月24日发布了5G基站核心芯片——华为天罡。值得一提的是,华为已经获得30个5G商用合同,25000多个5G基站已发往世界各地。
从2019年手机八大趋势 看苹果的下一步棋(全文)
华为发布首款5G天罡芯片 (图片:huanqiu)
话说回来,在2019年这个节骨眼上购买5G手机,确实能够提前尝鲜5G的滋味。中国移动、中国联通、中国电信三大运营商也在2018年中旬的时候进行了表态,2019年实现5G试商用,2020年正式商用(电信为重点城市的规模商用)。
苹果是否跟进5G?
回过头来我们再看看苹果,由于和芯片巨头高通闹翻脸,当前的专利授权案还没有解决,因此在5G方面的发展可以说是心有余而力不足。在5G上,苹果只有三天通天大道:一条是依赖英特尔,一条是自主研发,一条是联发科等其他芯片厂商。
从2019年手机八大趋势 看苹果的下一步棋(全文)
就目前消息来说,苹果更可能选择第一条,英特尔的5G解决方案。据之前的新闻报道,英特尔将自己定位为“端到端”5G解决方案提供商。据称苹果计划在2020年推出的iPhone中采用英特尔首款商用调制解调器XMM 8160,而英特尔也计划为支持5G网络的大部分无线基础设施开发产品。
产品:iPhone XS(全网通) 苹果 手机
屏幕指纹识别技术:已被vivo做精做稳
关于屏幕指纹技术,不吹不黑的说,Android系统的厂商确实拥有话语权。从2018年1月24日首款屏幕指纹产品发布至今,更新六代屏幕指纹技术,这也使得iPhone望而生畏。
第六代屏幕指纹技术:全屏指纹解锁的vivo APEX 2019
2019年1月24日,vivo发布vivo APEX 2019,采用全屏幕指纹解锁。
从2019年手机八大趋势 看苹果的下一步棋(全文)
vivo APEX 2019
硬件上,APEX 2019配备一整块覆盖全屏幕的指纹识别sensor;软件上,它实现了高灵敏度的高亮唤醒,并在vivo持续的算法优化积累下,实现了更好的识别体验。采用了压力触感+电容定位,为用户带来更加灵敏的触控,以及更精准的手指定位。
再看看处理器这边,骁龙855一问世便成为第一款支持Qualcomm 3D声波传感器的SoC,并且高通也希望这个设定能够促进屏幕指纹技术在旗舰机当中的普及。
从2019年手机八大趋势 看苹果的下一步棋(全文)
苹果是否跟进屏幕指纹?
归回我们的问题,苹果会采用屏幕指纹的方案吗?当年的iPhone X以后的产品,已经放弃了指纹识别方式,采用了Face ID的刷脸认证方式,但是vivo APEX 2019这种全屏幕指纹的方案也足够诱人。到底有还是没有,还要看苹果对【刘海】的去留决策。
产品:iPhone XS(全网通) 苹果 手机
全屏幕发声技术——解决刘海的plan 1
较为成熟的【屏幕发声技术】最早是出现在vivo NEX这款机器上,解决方案是运用光线数据补偿算法,将光线感应器隐藏在屏幕下方,从而实现了“屏下光敏”。
而声音都是通过物体的震动而产生,因此当用户接听语音时,通过屏幕的细微震动,就可以将声音收纳至耳朵内,整个工作原理类似骨传导技术,并且使用体验和拥有实体听筒的手机体验差距不大。
从2019年手机八大趋势 看苹果的下一步棋(全文)
vivo APEX屏幕发声技术
之前我们也爆料过,三星也在研发一项屏幕发生技术,它的原理和小米MIX的悬臂式压电陶瓷导声技术有相仿之处,基于OLED屏幕面板,借助压电感应和骨传导,单耳朵接触到屏幕上半部分区域时就会通过微震动单元进行发声。与其他厂商的屏幕发声技术并没有太多本质区别,只是目前为止,三星还未应用到实体产品上。
从2019年手机八大趋势 看苹果的下一步棋(全文)
vivo NEX屏幕发声技术
苹果是否跟进屏幕发声技术?
苹果会不会采用全屏幕发声这项技术?尽管目前还没有一份资料或者曝光的新闻表明,苹果会使用该技术,但是让我们大胆猜测一下。
2018年的iPhone XS依旧在刘海区域保留了大扬声器开孔,用来实现顶部和底部双立体声扬声器的效果,考虑到屏幕发声技术的缺陷问题,例如很多用户反馈通话音质不佳、声音音量不高等原因,苹果在2019年应用该项技术可能性不是很大。
产品:iPhone XS(全网通) 苹果 手机
快充:40W或更高的高功率充电
目前市场上主流的快充方案有三种:第一是华为旗下的SuperCharge 超级快充技术,拥有40W的充电功率,官方称半小时充电70%;第二种是OPPO旗下的Super VOOC串联双电芯快充方案,拥有40W充电功率;第三种是一加的Warp闪充,提供30W的充电效率。
从2019年手机八大趋势 看苹果的下一步棋(全文)
QC4+可15分钟充电超50% 高通2019推15W无线快充
最新消息,魅族在2019年也要推出全球首款真无孔未来手机,搭载18W魅族自研Super mCharge Wireless 无线超级快充,低温高效。
魅族正研发15W无线快充 魅族16S Plus尝鲜(图片引自数码博主微博)
苹果是否跟进快充?
苹果对快充方面会有何动作?实际上,“快充时代,苹果手机为什么不用快充”的话题已经司空见惯。但是具体原因无人知晓,官方也没有解释过,更多的只是猜疑。
原因一是苹果的设备越来越追求无线化,近几年都在发展无线充电、AirPods,大力发展无线生活;二是技术成果不达标,苹果认为自己的快充技术还不够成熟;三是挤牙膏的营销模式,你懂得。
写到最后
总的来说,手机市场已经逐渐饱和,各大品牌开始依托高端突围,我们也可以预见,未来的手机市场也会更加热闹,起码还有那么多创新技术等着我们去期待。
说了这么多,屏幕前的你觉得2019年的手机发展趋势是怎样的?今年的iPhone会不会变得更加昂贵呢?
最新活动
往届回顾