行家说Display
LED新型显示产业智库
关注公众号
柔性LCD | 三星显示未来或将以低成本LCD曲面屏替代OLED曲面屏
CINNO · 2019-01-03
编译:Nina
来源:g-enews
三星显示(SDC)将推出曲面LCD替代高价OLED,并逐步扩大其应用范围。
柔性LCD | 三星显示未来或将以低成本LCD曲面屏替代OLED曲面屏
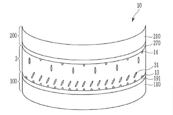
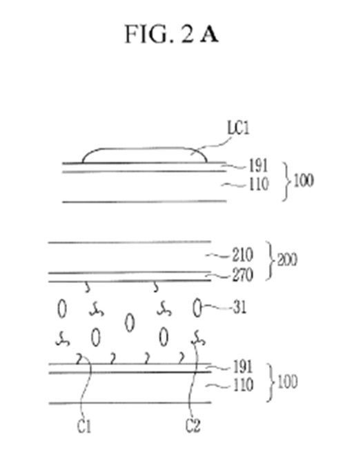
12月20日世界知识产权机构WIPO表示三星显示(SDC)正式申请得到审批名为曲面液晶显示(Curved Liquid Crystal Display)的LCD 曲面(edge)面板量产方法专利。
12月27日91 Mobile等媒体新闻推测三星电子将以曲面LCD替代高价OLED曲面,并从中端机型开始逐步扩大其范围。
柔性LCD | 三星显示未来或将以低成本LCD曲面屏替代OLED曲面屏
三星显示(SDC)在去年11月取得相关技术专利,专利显示是塑料基板替代玻璃基板的LCD技术,在制造过程中可随意弯曲面板,提升了耐破损性。
三星所使用的基板材质暂无法具体确认,但可以推断是一种塑料材质基板,类似于JDI在曲面LCD上所使用。塑料基板替代硬性玻璃时,即可实现柔性屏幕,还可以预防跌落时的龟裂。专利上虽未提及终端应用机种,但可以期待后续三星的多款机种上应用LCD曲面屏。而低价LCD曲面屏替代OLED后,可解决三星的运动手表、手机、TV、Monitor等产品上OLED面板的高成本问题。但短时间内三星貌似暂无应用LCD曲面面板的计划。相对低端的GalaxyS10 light 最适合应用LCD曲面屏,但截至目前资讯三星依旧选择平面显示屏。另,三星已经将部分高端机种的性能扩展至中低端产品线(A8S),逐渐模糊了中高端产品的界限,而三星未来若采用LCD曲面屏,可以成为与竞手拉开差距的优势。并通过技术升级,我们还可以期待其应用扩展至低端折叠手机。
相关标签
最新活动
往届回顾