行家说Display
LED新型显示产业智库
关注公众号
【技术】为什么用下倾角LED制作的显示屏能大幅节能?
每日LED · 2016-06-28
带下倾角的LED发光器件是专为户外LED显示屏而设计的产品,最早有丰田公司利用光学方法设计的带下倾角的DIP封装LED器件。在2012年国内的雷曼公司也推出了带下倾角DIP封装LED器件,它们对提高 LED显示屏的均匀度与节能都有显著的效果,并被人们逐渐了解。
但是带下倾角的LED器件仍有许多地方可以改进。
一、为什么户外LED显示屏需要使用带下倾角的SMD封装LED?
SMD封装LED由于其视角大,耗材少,贴装方便,目前已逐渐取代DIP封装LED成为户外LED显示屏首选的发光器件。
但是在实际使用中的户外LED显示屏所选用的SMD封装LED的发光端面与水平面是垂直的,也就是该发光端面的法线与水平面的夹角为0°,即互相平行(见图1)。
【技术】为什么用下倾角LED制作的显示屏能大幅节能?
图1
图1是目前主流的户外SMD3535LED的剖面图。
图1中的17是PCB的焊接面。
目前大多数户外LED显示屏都安装在大楼的外墙面或大楼顶部
(见图2)。
【技术】为什么用下倾角LED制作的显示屏能大幅节能?
图2
人们观看安装在高度远远大于人的自身身高的户外LED显示屏时会有一仰视角 θ,由此可见当户外LED显示屏安装部位的垂直高度越高,或者人离户外LED显示屏的水平距离越近,则仰视角θ越大(见图3 )。
【技术】为什么用下倾角LED制作的显示屏能大幅节能?
图3
古老的上海南京路街道宽度最宽处为30米,最窄处为18米。而根据《城市道路工程设计规范》(CJJ37-2012)规定,主干道的宽度应为30—40米,次干道的宽度为25—40米。从已经安装的许多户外LED显示屏来看,其显示屏的中心离地高度在15米—60米左右,大多平均约在20米左右高度。由此可得出观众的仰视角θ大约在30°—50°左右。
图4是目前常用的户外SMD封装LED3535的视角与相对光强关系图。
【技术】为什么用下倾角LED制作的显示屏能大幅节能?
图4
参见图3,假设户外LED显示屏安装的高度≥20M时,街道的宽度也≥20M时,观众的仰视角θ约为45°,从图4可以得出,当θ=45°,相对光强只有62.1%,也就是说观众得到的感观亮度只有62.1%,相对光强100%处的这部分光能投射到了街道对面的大楼变成为了光污染,这对设计师而言显然不是最好的设计。但是自从户外LED显示屏诞生以来,绝大多数在使用中的户外LED显示屏就是如此不合理!原因就是绝大多数SMD封装LED器件不带下倾角,带下倾角SMD封装的LED器件还未设计出来。
二、带下倾角SMD封装的LED器件的设计
1、对现有的SMD封装的LED3535作下倾角改进
对现有的SMD封装的LED 3535作如下改进:将原来的3535的发光端面向下倾一个α角度,见图5。
【技术】为什么用下倾角LED制作的显示屏能大幅节能?
图5
图5中的17是PCB的焊接面。
不难证明图中α=β,若我们令β=α=15°时,那么它的视角与相对光强的关系曲线也因此旋转15°,请参见图6(注意:图中坐标系不旋转,因为在相同坐标系中分析比较才有意义)。
【技术】为什么用下倾角LED制作的显示屏能大幅节能?
图6
从图6可以得出:当观众的仰视角θ=45°时观众得到了相对光强提高到了81.3% 的亮度;而在图4,当观众的仰视角θ=45°时观众只得到相对亮度为62.1%的亮度。计算一下:(81.3-62.1)/62.1*%=30.9%。这意味着:制作户外LED显示屏,采用带下倾角SMD封装的LED器件与采用传统的SMD封装LED 3535器件比较,亮度提高了30.9%,能大幅度节能。
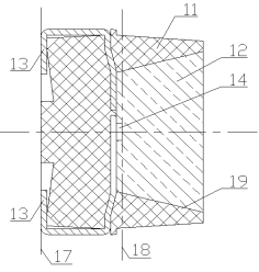
2、带下倾角SMD封装的侧发光LED器件的设计
目前市场上的一种被称为LED透明屏或者LED灯条屏的LED显示屏,它被安装在大楼玻璃幕墙的内侧,主要是针对户外街道上或者广场上的观众 。这种LED灯条屏为了保证玻璃幕墙内的采光而偏重于通透率,因此采用了一种侧发光的SMD封装LED器件如图7。
【技术】为什么用下倾角LED制作的显示屏能大幅节能?
图7
这种侧发光LED的相对光强与视角的关系仍然如图4所示,同样不带下倾角。但是城市的街道与广场都不会很宽很大,而大楼玻璃幕墙的高度一般都较高。因此设计带下倾角的侧发光LED器件是非常必要了。图8是带下倾角的侧发光LED器件。
【技术】为什么用下倾角LED制作的显示屏能大幅节能?
图8
图8中17是PCB的焊接面,16是PCB板(即灯条)。显然它的最大光强下倾了一个角度β,例如,可令β=15°,它的相对光强与视角关系如图6。这样,由于发光端面下倾而使观众在仰视角θ=45°时的感观亮度同样增加了30.9%。因此,采用带下倾角SMD封装的侧发光LED器件制作灯条屏能大幅节能。可喜的是这种带下倾角SMD封装的侧发光LED器件已经由深圳新光台公司成功研发出来,不久即可面市。见图9
【技术】为什么用下倾角LED制作的显示屏能大幅节能?
图9
三、采用带下倾角的LED器件的户外LED显示屏的有益之处
综上所述,不带下倾角的LED元件用于户外LED显示屏不但光能利用率很低,而且会造成严重的光污染。用图4与图6进行比较可以得出:当观众的仰视角分别为15°、30°、45°时,他们的感观亮度分别提高了5.6%、16.5%、30.9%。由此可见当户外LED显示屏安装在离地20M以上的高度,观众与LED显示屏的水平距离约20M时(这也是大多数的使用状况),采用带下倾角的LED元件的户外显示屏具有明显的节能优势。
采用带下倾角的LED元件制作户外显示屏,观众的感观亮度提高了,换句话说,若保持原感观亮度不变,LED元件的驱动电流就可以减小,整个显示屏的能耗至少可以降低20%左右(见图10),由此会带来发热减少提高了LED器件的均匀度与寿命,开关电源的配置功率减少也降低开关电源的采购成本。
【技术】为什么用下倾角LED制作的显示屏能大幅节能?
图10
图10是FM-N3535的相对光强与正向电流的特性曲线,它们基本呈线性关系,即可以定性推测,其节能效应也与亮度呈线性关系,因此采用带下倾角的LED元件制作户外显示屏的节能效果是相当可观的。(每日LED综合报道)
联系我们
Tel:0755-36933910
Email: 3027212316@qq.com
最新活动
往届回顾