行家说Display
LED新型显示产业智库
关注公众号
苹果布局micro LED的机会与挑战
华强LED网 · 2016-06-21
市场预期有机发光二极体(OLED)面板将取代液晶,成为智能手机面板主流产品,而在苹果(Apple)带动下,OLED市场竞逐更趋白热化。与此同时,业界也正密切关注苹果所布局的新一代显示技术“MicroLED”,有望超越OLED颠覆现有显示技术局面,并将拓展更高层次的技术应用。
收购LuxVueTechnology展开专利技术布局
微发光二极体(MicroLED)显示技术已发展多年,直到苹果收购了美国MicroLED显示技术公司LuxVueTechnology后,引发市场热切关注。LuxVue成立于2009年,主要研发用于消费性电子的低功耗MicroLED显示技术,并经三轮融资募得4,300万美元资金。美国硅谷知名创投公司KPCB为其投资者之一,该公司合伙人JohnDoerr曾表示,LuxVue的显示技术别具突破性;而台湾面板厂友达、IC设计厂联发科及奇景光电,都曾持有LuxVue股份,之后因LuxVue被苹果收购而早一步处分持股。
苹果看上LuxVue所拥有的MicroLED技术,2014年5月证实收购LuxVue,取得多项MicroLED专利技术,此后也持续布局有关技术专利。藉由整合LuxVue技术,苹果可望为旗下穿戴式设备、手机等产品提高屏幕亮度,并降低电池能耗、延长续航力,为硬件设备拓展创新可能。
苹果布局micro LED的机会与挑战
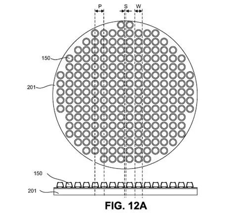
图1:MicroLED阵列结构图(图片来源:USPTO)
不过,苹果对于并购LuxVue一事表现得相当低调,除了拒绝透露有关细节外,也以一贯的官方说法回应,表示苹果不时收购小型新创公司,通常不会针对收购目的或计划予以说明。2015年底有媒体消息指出,苹果在台湾龙潭科学园区设置实验室,主要为研发MicroLED显示技术,试图抢夺新一代显示器主导权,以降低对日韩面板厂的依赖。然而,该消息似乎已成业界“不能说的祕密”,至今仍未能获得证实。
MicroLED显示技术具优势整合感测器拓展应用
MicroLED为微型化LED阵列结构,具有自发光显示特性,每一点像素(pixel)都能定址化单独驱动发光,优点包括高亮度、低功耗、体积较小、超高分辨率与色彩饱和度等。相较于同为自发光显示的OLED技术,MicroLED不仅效率较高、寿命较长,材料不易受到环境影响而相对稳定,也能避免产生残影现象,但柔软度及可挠性则逊于OLED。
市面上有些穿戴式显示设备因亮度不高而影响清晰度,必须拉升效率加以改善,但原本效率较低的OLED会因此增加功耗,MicroLED却能在同样功耗下,亮度比OLED高十倍以上。工研院电光所微组装系统部经理方彦翔博士表示,工研院经实测后认定MicroLED比OLED更适合用于穿戴式产品,待前者技术成熟后,价格也相对更具竞争力。
穿戴式设备与物联网(IoT)关系密不可分,为因应未来趋势发展,穿戴式设备势必得整合更多感测器(sensor),对空间需求也就更大。方彦翔指出,OLED为提升效率必须将R、G、B子像素排列紧密,在间距变窄下所能置入的感测器有限;MicroLED间距则足以整合多个感测器,维持穿戴式设备轻薄省电。
方彦翔认为MicroLED技术不光是能用于显示,也以整合多样感测器为发展方向,将在穿戴式设备、智能手机等应用扮演关键要角,工研院称之为“微组装”(microassembly)技术,预计最快五年内在台建构相关产业链。
技术开发门槛高牵动产业链发展
苹果看见LuxVue的MicroLED技术潜力而将之收归旗下,尤其LuxVue已掌握最关键的转移技术,这也是现阶段开发MicroLED最难克服的环节,另包括电路驱动、色彩转换、检测、晶圆波长均匀度等,也都是尚待突破的技术瓶颈。LuxVue最初从布局转移技术专利,之后陆续朝驱动、应用等专利技术拓展,三年来已布下65项专利。
苹果布局micro LED的机会与挑战
图2:LuxVue转移技术相关专利图(图片来源:Patent)
方彦翔表示,由于MicroLED在IC、检测、转移技术和应用各方面,都与现有LED产业链大不相同,因此LED厂投入研发MicroLED技术,其实并没有较占上风。不过,MicroLED一旦开发成功,台湾半导体、LED产业等都可望受惠,特别是可解决后者产能过剩问题。
目前不仅苹果积极研发MicroLED技术,其他还包括美国德州理工大学(TexasTechUniversity)、法国原子能署电子暨资讯技术实验室(CEA-Leti)、英国史崔克莱大学拆分公司mLED等,而台湾半导体新创公司錼创科技也是其中之一,更与工研院合作开发技术与产品,日前也发布了PixeLED专利显示技术,接下来的发展令人期待。
苹果布局micro LED的机会与挑战
图3:英国史崔克莱大学拆分公司mLED所开发的MicroLED(来源:mLED)
MicroLED技术及相关产业链可望在苹果带动下加速发展,未来可望多方应用在智能穿戴设备、头戴式显示器(Head-MountedDisplay,HMD)、抬头显示器(Head-UpDisplay,HUD)、数码看板(DigitalSignage)、TV等,其发展潜力备受看好。然而,目前仍有许多技术门槛有待克服,距离技术成熟恐怕还需要数年时间,日后苹果将如何运用MicroLED显示技术,又将朝哪些应用开发,在在影响着产业发展,至于有关技术会否如业界所言成为产业救星,值得持续追踪观察。
来源:科技新报
最新活动
往届回顾