行家说Display
LED新型显示产业智库
关注公众号
全面屏|天马采用精巧的AMOLED和PMOLED发光单元结构排布避免屏挖孔或开口
CINNO · 2021-03-03
全面屏 | 天马采用精巧的AMOLED和PMOLED发光单元结构排布避免屏挖孔或开口
全面屏|天马采用精巧的AMOLED和PMOLED发光单元结构排布避免屏挖孔或开口
来源 :集微网
在目前的中小尺寸显示市场,尤其是中高端移动终端消费类显示产品,AMOLED显示逐渐开始展露优势。据了解,厦门天马已经完成了第六代AMOLED生产线项目,其在AMOLED显示领域的竞争力得到进一步增强。
在现有的显示面板体系中,一个较难解决的问题是在屏占比增大的同时避让摄像头和传感器,并通过AMOLED技术提高发光效率。目前的一种异形屏,可以把前置摄像头以及传感器位置的屏幕挖空,或者设置开口,以避让上述部件,如图1所示。然而当显示画面时候,这一开口位置不能显示图像,会导致图像缺失,影响使用效果。
全面屏|天马采用精巧的AMOLED和PMOLED发光单元结构排布避免屏挖孔或开口
现有技术的显示装置
基于这一背景,厦门天马微电子公司于2019年1月31日申请了一项名为“显示面板、显示装置及显示面板的制作方法”的发明专利(申请号:201910100174.8),申请人为厦门天马微电子有限公司。
全面屏|天马采用精巧的AMOLED和PMOLED发光单元结构排布避免屏挖孔或开口
图2 本发明提供的显示面板
参考图2,本发明提供的显示面板包括显示区AA和非显示区NA,其中显示区AA包括第一显示区AA1和第二显示区AA2。衬底110由诸如玻璃、聚碳酸酯(PC)或玻璃纤维增强塑料(FRP)等聚合物材料形成。基板中通常有缓冲层,多层无机、有机层层叠结构,防止湿气或杂质通过基板扩散,并且在基板的上表面上提供平坦的表面。
全面屏|天马采用精巧的AMOLED和PMOLED发光单元结构排布避免屏挖孔或开口
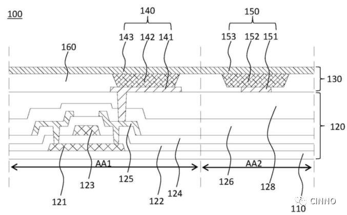
图3 显示面板俯视结构图
图3展示了AMOLED显示面板的详细俯视结构图,其中阵列层120位于衬底110上,包含多个薄膜晶体管构成像素电路,控制发光器件。阵列层120中的有源层121、源极区域和漏极区域可用于形成薄膜晶体管,源/漏电125分别通过接触孔电连接(或结合)到源极区域和漏极区域,接触孔则是通过选择性地去除两端绝缘层来形成。
显示面板100还包括位于阵列层120背离衬底110一侧的发光功能层130,包括AMOLED发光单元140和PMOLED发光单元150。其中,AMOLED发光单元140设置在第一显示区AA1,PMOLED发光单元150设置在第二显示区AA2,包括层叠的阳极、有机发光层和阴极,二者共同沿行方向和列方向排布在显示面板100所在平面上,形成发光单元阵列。
此外,发光单元的有效发光面积为发光材料与阳极、阴极交叠的区域,因此PMOLED发光单元发光面积小于AMOLED,而第二显示区AA2为透明显示区,可以通过外界光源补偿由于发光单元的发光面积减小造成的亮度损失的问题。由此进一步保证第二显示区AA2具有足够透光率,这样不仅可以减小对第二显示区AA2中的感光器件的干扰,还可以使第一有机发光层142与第二有机发光层152共用同一个掩膜版形成,在保证第二显示区AA2具有足够透光率的同时简化工艺。
简而言之,厦门天马微电子的AMOLED显示面板发明专利,提供了一种新型的显示装置,通过采用精巧的结构排布AMOLED和PMOLED发光单元,可以在提高屏幕屏占比的同时提升显示效果,从而增强了用户体验。
随着半导体和材料领域不断深入创新,显示面板也迎来了一波波转型的热潮,能够在提高发光效率同时给予用户更佳的使用体验。在终端厂商的各项研发投入竞赛中,厦门天马微电子在新型AMOLED显示市场也不甘落后,相信这一项项实验室中的技术能在不久的将来应用到我们日常生活中。
- END -
CINNO于2012年底创立于上海,是致力于推动国内电子信息与科技产业发展的国内独立第三方专业产业咨询服务平台。公司创办八年来,始终围绕泛半导体产业链,在多维度为企业、政府、投资者提供权威而专业的咨询服务,包括但不限于产业资讯、市场咨询、尽职调查、项目可研、管理咨询、投融资等方面,覆盖企业成长周期各阶段核心利益诉求点,在显示、半导体、消费电子、智能制造及关键零组件等细分领域,积累了数百家大陆、台湾、日本、韩国、欧美等高科技核心优质企业客户。
全面屏|天马采用精巧的AMOLED和PMOLED发光单元结构排布避免屏挖孔或开口
更多商务合作,欢迎与小编联络!
扫码请备注:姓名+公司+职位
全面屏|天马采用精巧的AMOLED和PMOLED发光单元结构排布避免屏挖孔或开口
我是CINNO最强小编, 恭候您多时啦!
推荐阅读
点击文字即可阅读全文
中低端手机面板价格持续上涨,刚性AMOLED手机面板价格继续持平
CINNO Research | 2024年中国市场智能手机屏下指纹渗透率将提升至70%
CINNO Research | Mini LED元年,以背光与直显模式对应不同市场需求
制裁措施不断升级,华为海思中国市场份额明年或大幅下滑过半
中低端手机面板价格上涨,AMOLED与LTPS手机屏价差持续缩小
全球疫情影响高端手机需求,6月AMOLED入门级智能手机面板均价(ASP)首次跌至低于高端LTPS液晶面板
2020年上半年中国市场智能机销量仅1.4亿部,同比大幅下降24.7%
CINNO Research:2020年Q1海思首次登顶中国智能手机处理器市场
CINNO Research:2023年全球Mini LED背光需求有望达千亿颗
2020年2月全球液晶电视面板出货华星光电首次摘得全球第一桂冠
往届回顾