三星Micro LED显示屏专利披露
行家说Display · 2020-06-24
三星电子最近公布了一项专利,该专利描述了一款模块化设计的Micro LED电视。
提前做个简短的说明。即使对这项专利的描述是全面而且详细的,也并不意味着三星会继续追求相应产品的开发或生产。创意或“突然崩溃”的项目常常被转化为专利,目的是为了保护它们免受竞争。三星在专利W02020116861“显示装置”是一个带有印刷电路板的面板,该电路板纵向上装有几个显示模块。如下图所示:
Micro LED显示模块可以安装在不同的图片比率(W1, W2, W3”)
灵活的长宽比
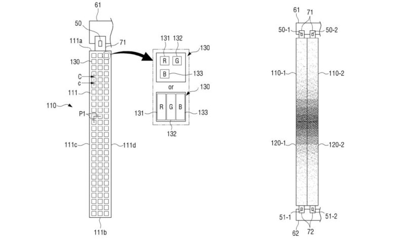
细长的Micro LED模块(A1)外形尺寸为1:10,顶部和底部连接到电路板上。40个模块可以拼成1:1的图像模式(W1)。经典的16:9格式(W2)继续添加22个模块。不止于此,外形甚至可以扩展到21:9的超宽显示屏 (W3)。
Micro LED模块的RGB像素矩阵简化图
该模块由数百个Micro LED像素组成,每个像素又分为红、绿、蓝子像素。子像素在像素中的排布暂时不清楚,可能是排布成三角形,也可能是拉长的子像素相邻排列。专利中提到了显示器的分辨率。按照常规格式16:9,分辨率为3,840 x 2,160,即4K超高清。随着像素密度的增加,8K (7,680 x 4,320)也是可能实现的。
Micro LED显示屏由四部分组成
完整的显示结构实际上包含四个组件。Micro LED光源模块、印刷电路板、放置Micro LED模块的基板以及透明保护层。透明保护层用于防止灰尘、飞溅水和其他异物的进入。
Micro LED显示屏结构

