传iPhone13将LTPO-OLED屏,一文解析什么是LTPO技术.....
OLEDindustry · 2020-06-05
据Digitimes报道,苹果供应链方面已经在使用 LTPO 背板技术为2021年 iPhone 打造 OLED 显示屏。
据苹果消息人士透露,2021款苹果 iPhone 的 OLED 屏幕可能会采用 LTPO 背板技术打造。苹果尚未在2020年推出 iPhone 12,但其供应链已经在为明年的高级版本 iPhone 机型开发采用 LTPO 背板技术的 OLED 屏幕。
采用 LTPO 技术生产的屏幕背板可以为设备提供更长的电池寿命及加入 ProMotion 等新功能,并为常显功能铺平道路。
此前消息人士 Max Weinbach 和 Jon Prosser 表示苹果有望在 iPhone 12中加入 ProMotion 功能,但显示器分析师 Ross Young 认为,如果苹果计划在 iPhone 上支持 ProMotion ,那么 LTPO 是必不可少的,因为它允许当设备处于非活动状态时提供低至1Hz 的屏幕可变刷新进而优化电池寿命。
这里再次把LTPO重新再解析下。
什么是LTPO技术——LTPS的再进化
从Apple Watch初代开始,直至第四代之前,苹果表OLED面板均采用了常见的LTPS低温多晶硅作为背基板材质OLED面板。在OLED面板中,为了提高面板分辨率,常规的做法是增加TFT电子迁移率并将电容器变小,同时由于OLED每个像素具有多个晶体管,电容器尺寸必须更小。
电容器变小势必会使得沟道电阻电信号延迟,最有效的做法便是通过LTPS提升电子迁移率,以达到省电的效果。但LTPS仍然有一个很大的问题,它难以应用于大尺寸基板,并且LTPS对中小尺寸OLED面板高性能状态未进行优化,也就是我们在手机、笔记本上已经经常提到的高刷新率屏幕都会在LTPS下,带来更高的功耗。
这意味着如果苹果希望在iPhone、iPad乃至MacBook上使用更省电,且刷新率更高的屏幕,必须找到一个合适的替代品。
为了提高分辨率,增加了TFT电子迁移率并使电容器变小,但又不能使得沟道电阻延迟了电信号的处理。通常每个像素具有一个晶体管,但OLED每个像素具有多个晶体管,因此电容器的尺寸不可避免地要更小。LTPS和氧化物的电子迁移率是传统非晶硅的约100倍。而氧化物又比LTPS的电子迁移率更低。随着电子迁移率和沟道迁移率的增加,如果加速电信号处理,则可以实现高分辨率。
由于氧化物需要类似于非晶硅的掩模工艺步骤,使得制造成本低。而LTPS的价格是氧化物和非晶硅的两倍,这制造起来很昂贵。但是,LTPS在商业市场中比氧化物更受欢迎。这是因为TFT均匀性优异,技术完整性高。鉴于这些特点,Apple似乎已经获得了LTPO技术,该技术提高了将新氧化物技术应用于OLED的性能。
正是因为这个,apple在第4代的Apple Watch Series4上开始采用LTPO背板技术,据当时apple当时官网显示此款手表采用了具有力度触控功能的LTPO OLED视网膜显示屏,当时OLEDindustry单独浅析过这个技术。也正是有了这项技术,新一代的watch做到了屏幕在常显下一样具有长达 18 小时的电池续航。
LTPO原理
LTPO 英文全称为 Low Temperature Polycrystalline Oxide,中文名字叫低温多晶氧化物。目前OLED小尺寸的主要两大背板技术是LTPS和氧化物,而LTPO是一种新型背板技术,它结合了这两种技术的优点,以低生产成本实现更高的电荷迁移率,稳定性和可扩展性。
LTPO结构图(来源:LG Display)
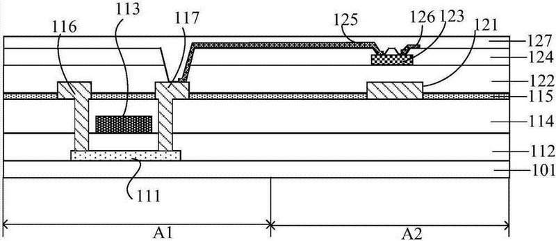
那么它是如何结合的呢?它是将LTPS和氧化物设计放置在同一个像素中,LTPS用于驱动显示器,氧化物用于开关。简单的说就是在同一个像素中集成了 LTPS 和 Oxide 两种 TFT 器件,Oxide 是底栅结构,LTPS 是顶栅结构。这种新工艺结合了 LTPS TFT 工艺驱动能力强和 Oxde TFT 工艺漏电小功耗低的优点。
从工艺专利文件来看,LTPO 需要在 LTPS 的基础上,再建立一个氧化物层。这里面最主要的攻关之一是厂商需要确保在铺设氧化物层的时候,不影响原本 LTPS 层间介质中的晶体管特性。随着苹果开始量产具备 LTPO 的 OLED 屏幕,并将其付诸于智能腕表占有率第一的 Apple Watch 上,都证明了苹果已经将 LTPO 的量产向前推进一大步。
来源:京东方科技集团专利文件
但是,此次三星爆料将推出LTPO技术手机,表示三星将LTPO再推进一步。对于AMOLED一直以来都是三星都是龙头,良率也是奇高。此次三星再次领先采用LTPO背板来驱动手机,将会开启手机2K+120Hz的新放向。
竞争技术剖析
目前被认为应用于OLED的基板技术主要包括LTPS、IGZO、硅基、LTPO。
LTPS是目前最为成熟应用于OLED的背板技术,也是目前的OLED量产背板技术。目前主要的企业有三星、京东方、维信诺、天马、和辉、华星、LGD、友达、JOLED、JDI、夏普。
而IGZO目前也是仅次于LTPS被推进OLED的技术,目前主要公司有夏普、华佳彩、柔宇。CEC涉足的也是IGZO,但是目前并未公开表示做AMOLED。
至于硅基OLED,实际上跟上面的背板技术不存在太大竞争关系,因为硅基OLED主要是应用于高PPI的AR/VR近眼显示,当然成本价格也比这些玻璃基板的价格高太多。目前主要有Kopin,云南北方奥雷德光电科技、京东方,索尼,eMagin和MicroOLED、视涯科技、昆山维信诺、熙泰。
而LTPO和二硫化钼目前只能说是理论上应用于OLED,可以归类于未来背板技术。
LTPO被认为是未来技术主要是因为:一方面,现在的氧化物IGZO具有底栅结构,其在半导体膜下面形成栅电极。底栅通过在半导体膜下面形成栅电极,绝缘膜,沟道层,源极和漏极而形成TFT。由于掩模工艺数量少,很容易制造,但是由于每个阵列的结构特性而产生寄生电容,导致较低的电流速率。
另一方面,LTPS具有顶栅结构,其栅电极位于最上位置,因此具有高电荷迁移率。寄生电容也大大减少。而LTPO使用氧化物材料形成LTPS TFT结构,从而增加电荷迁移率并减少工艺数量。它也可以应用于大型面板。
二硫化钼晶体管因为它不仅很容易弯曲,而且由于它们只有一个原子厚度,还能让电子很快地贯穿,因此是透明的。正是因为既可以容易弯曲有透明,所以更完美适用于柔性OLED显示器。而LTPS、非晶硅这些材料“相当坚硬且易碎”,虽然可以被弯曲,但不能重复多次。
目前企业布局情况
根据OLEDindustry了解到,目前真正推出的这一块的应当是苹果公司,因为最初就是由苹果公司提出来,不过据OLEDindustry发现,国内面板厂都申请了相关LTPO专利,当然目前除了苹果手表的应用,还没有看到其他实质性的产品出来。不过很早前韩媒就报道了苹果以其掌握的LTPO技术为基础,正与LGD与三星显示器(Samsung Display)开发新的氧化物技术。
总结
最初,Apple的LTPO的目标可不仅仅是Apple Watch 的OLED屏幕,而是它更大的野心的大屏幕,例如iPhone,例如iPad,甚至是MacBook。但是毕竟苹果不是OLED面板厂家,按照最近爆料消息来看还是要晚于三星将LTPO用于手机上。
虽然说三星会在旗舰机上采用LTPO技术,但是LTPO的批量生产很复杂,并且随着工艺过程的复杂,成本负担也会增加。除了确保技术外,具有竞争力的生产能力(例如产量和批量生产能力)者才有可能成为差异化的关键。
来源:Digitimes、OLEDindustry

