行家说Display
LED新型显示产业智库
关注公众号
不知道什么是Micro-LED?让我来告诉你
LED市场 · 2016-06-11
最近因为苹果会采用AMOLED屏,让OLED概念火了一把。而被认为OLED显示的下一代Micro-LED似乎也不再低调,于台湾固态照明国际研讨会上争光夺彩。相比OLED,Micro- LED技术 对很多人来说还是比较陌生的,但是关注越来越高。今天小编就Micro-LED概念、优劣势、当前现状及技术瓶颈来解说下,有什么不妥当的地方欢迎大家讨论留言。 Micro-LED是什么? Micro LED技术,即LED微缩化和矩阵化技术。指的是在一个芯片上集成的高密度微小尺寸的LED阵列,如LED显示屏每一个像素可定址、单独驱动点亮,可看成是户外LED显示屏的微缩版,将像素点距离从毫米级降低至微米级。 而Micro LED display,则是底层用正常的CMOS集成电路制造工艺制成LED显示驱动电路,然后再用MOCVD机在集成电路上制作LED阵列,从而实现了微型显示屏,也就是所说的LED显示屏的缩小版。
不知道什么是Micro-LED?让我来告诉你
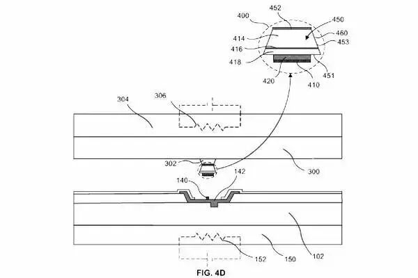
LuxVue有源矩阵Micro LED display申请的专利 (图片来源:LuxVue )
凸显的优势 Micro LED优点表现的很明显,它继承了无机LED的高效率、高亮度、高可靠度及反应时间快等特点,并且具自发光无需背光源的特性,更具节能、机构简易、体积小、薄型等优势。 除此之外,Micro LED还有一大特性就是解析度超高。因为超微小,表现的解析度特别高;据说,如若苹果iPhone 6S采用micro LED,解析度可轻松达1500ppi以上,比原来的Retina显示的400PPi要高出3.75倍 而相比OLED,其色彩更容易准确的调试,有更长的发光寿命和更高的亮度以及具有较佳的材料稳定性、寿命长、无影像烙印等优点。故为OLED之后另一具轻薄及省电优势的显示技术,其与OLED共通性在于亦需以TFT背板驱动,所以TFT技术等级为IGZO、LTPS、Oxide。
不知道什么是Micro-LED?让我来告诉你
基于微LED显示屏的量子点全色发光的处理流程 (图片来源:OSA Publishing)
存在的劣势 1、成本及大面积应用的劣势。 依赖于单晶硅衬底做驱动电路,并且从此前苹果公布的专利上来看,有着从蓝宝石衬底转移LED到硅衬底上的步骤,也就意味着制作一块屏幕至少需要两套衬底和互相独立的工艺。这会导致成本的上升,尤其是较大面积应用时,会面临良率和成本会有巨大的挑战。(对于单晶硅衬底,一两寸已经是很大的面积了,参照全幅和更大的中画幅CMOS感应器产品的价格)当然从技术角度来说LuxVue将驱动电路衬底转换为石英或者玻璃来降低大面积应用成本是可行的,但这也需要时间。相比于AMOLED成熟的LTPS+OLED方案,成本没有优势。
不知道什么是Micro-LED?让我来告诉你
图片来源:LuxVue
2、发光效率优势被PHOLED威胁甚至反超 。磷光OLED(Phosphorescent OLED,PHOLED)效率的提升有目共睹,UDC公司的红绿PHOLED材料也都已经在三星Galaxy S4及后继机型的面板上开始商用,面板功耗已经和高PPI的TFT-LCD打平或略有优势。一旦蓝光PHOLED材料的寿命问题解决并商用,无机LED在效率上也将占不到便宜。 3、亮度和寿命被QLED威胁。 QLED研究现在很热,从QD Vision公司提供的数据来看无论效率和寿命都非常有前景,而从事这块研究的大公司也很多。当然QLED也是OLED的强力竞争对手。 4、难以做成卷曲和柔性显示。 OLED和QLED的柔性显示前景很好,也已经有不少的Prototype展示,但对于LuxVue来说做成卷曲和柔性都显得比较困难。如果要制造iWatch之类的产品,屏幕没有一定的曲率是比较不符合审美的。 现状 说起micro LED的发展现状,正如Nouvoyance现任CEO也是三星OLED面板中P排列像素创始人Candice Brown-Elliott所说,在苹果收购LuxVue之前只有很少人知道和从事该领域,而现在已经有很多人开始讨论这项技术。 而两位Micro-LED技术的专家在去年也曾表示,该技术水平还很难应用生产各种实用的屏幕面板,近期不大可能在iPhone、iPad或者iMac产品中看到这项屏幕技术。但对于较小的显示屏,Micro-LED仍是一个可行的选择,像Apple Watch等小型屏的应用。
不知道什么是Micro-LED?让我来告诉你
VerLASE的MicroLED阵在近眼显示器(NED)上的应用 (图片来源:VerLASE)
其实自LuxVue被苹果收入之后,有看到VerLASE公司宣布获取突破性的色彩转换技术专利,这种技术能够让全彩MicroLED阵列适用于近眼显示器,之后一直没有相关报道。最近,LEDinside从最近台湾固态照明研讨会得到消息,Leti、德州大学(Texas Tech University)和PlayNitride皆在研讨会上展现自己的micro LED研发成果。 Leti推出了iLED matrix,其蓝光EQE 9.5%,亮度可达107 Cd/m2;绿光EQE 5.9%,亮度可达108 Cd/m2,采用量子点实现全彩显示,Pitch只有10 um,未来目标做到1 um。Leti近程计划从smart lighting切入,中程2-3年进入HUD和HMD市场,抢搭VR/AR热,远程目标是10年内切入大尺寸display应用。 而台湾Play Nitride公布的同样以氮化镓为基础的PixeLEDTM display技术,公司目前透过移转技术转移至面板,转移良率可达99%! 由此可见,Micro LED技术已经有很多企业在跟进,发展速度也在加快。但就苹果本身来看,该技术属苹果实验室阶段技术,且苹果本身也押宝了许多新兴产业,故未来是否导入量产仍有待观察。 发展的瓶颈 其实Micro LED的核心技术是纳米级LED的转运,而不是制作LED这个技术本身。由于晶格匹配的原因,LED微器件必须先在蓝宝石类的基板上通过分子束外延的生长出来。而做成显示器,必须要把LED发光微器件转移到玻璃基板上。由于制作LED微器件的蓝宝石基板尺寸基本上就是硅晶元的尺寸,而制作显示器则是尺寸大得多的玻璃基板,因此必然需要进行多次转运。 对于微器件的多次转运技术难度都是特别高,而用在追求高精度显示器的产品上难度就更大。通过此前苹果收购Luxvue后公布的获取专利名单也以看出,大多都是采用电学方式完成转运过程,所以说这才是Luxvue的关键核心技术 台湾錼创执行长李允立近日也表示:“Micro LED成功关键有二:一是苹果、三星这些品牌厂的意愿;二是晶片搬动技术,一次搬运数百万颗超小LED晶片,有门槛要克服。” 其实,Micro LED还面临第三个问题,即全彩化、良率、发光波长一致性问题。单色Micro LED阵列通过倒装结构封装和驱动IC贴合就可以实现,但RGB阵列需要分次转贴红、蓝、绿三色的晶粒,需要嵌入几十万颗LED晶粒,对于LED晶粒光效、波长的一致性、良率要求更高,同时分bin的成本支出也是阻碍量产的技术瓶颈。
最新活动
往届回顾