行家说Display
LED新型显示产业智库
关注公众号
盘点小米无人机专利:雷军的底气在哪?
LED产业专利联盟 · 2016-06-11
小米官方已经确认,5月25日晚上7点,将通过小米直播APP正式发布小米无人机。这是小米第一次通过直播举办新品发布会,也是第一次涉足无人机领域。对于这款产品,雷军表示,玩无人机,让每个人都可以享受飞翔的自由,看到平时无法看到的风景。
与此同时,小米还放出了一段预告视频,视频中曝光了无人机的一些设计细节,比如旋翼、摄像头等。
从视频中来看,小米无人机为采用了应该是四旋翼设计,摄像头为圆球造型,支持旋转(是不是360度还无法确定)。
下面我们先来看看小米无人机的专利,先行一步了解下它:
小米无人机小米无人机发布时间小米无人机图片
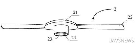
1、螺旋桨结构和飞行器
小米无人机的螺旋桨底部有个内螺纹(图中23位置),方便安装,和大疆的自锁浆相似。
盘点小米无人机专利:雷军的底气在哪?
2、减震结构、减震惯性测量结构和飞行器
小米无人机设计了一个有减震结构的惯性测量结构。
一般来说,惯性测量系统是利用陀螺仪、加速度计等惯性敏感元件和电子计算机,实时测量运载体相对于地面运动的加速度,以确定运载体的位置和地球重力场的相关参数,是飞行稳定的关键。
盘点小米无人机专利:雷军的底气在哪?
盘点小米无人机专利:雷军的底气在哪?
3、数据传输方法、装置及系统
一种可以利用数据线完成数据传输的解决方案。以往的无人机基本都使用Wi-Fi或蓝牙进行数据传输,而数据线可以提高移动终端与遥控器之间数据传输的稳定性、准确性和效率。
这个专利相当有实用价值。
盘点小米无人机专利:雷军的底气在哪?
4、飞行器、飞行器主体和脚架
一个连接主体和脚架的机械结构。在无人机的主体和脚架之间有一个锁钩,通过滑动锁钩来连接主体和脚架,使这两部分可以单独拆卸,从而让脚架更加便携,还可定制。
盘点小米无人机专利:雷军的底气在哪?
5、无人机固件升级专利(实用性专利)
小米无人机的固件闪存划分为四个区域:第一分区(引导启动)、第二分区(当前固件版本)、第三分区(备份分区)、第四分区(升级标识分区)。
通过对各个分区的状态进行判断,来确认固件是否升级到最新的版本,避免固件升级失败导致无法进入系统的问题。
6、遥控器相关专利
通过遥控器上的滚轮控制云台的角度。原理是通过滚轮的滚动,使电位部件的电刷产生不同的电压,电压信号传递给遥控器本体,遥控器本体把电压信号转换成控制信号,传递给云台,使云台发生相应运动。
当松手放开滚轮时,通过回中部件使滚轮恢复到初始位置。
滚轮、回中部件、电位部件、遥控器本体、传递块、按键PCB板……就是这么个顺序。
不过,大疆的遥控器已经实现了类似技术。
盘点小米无人机专利:雷军的底气在哪?
盘点小米无人机专利:雷军的底气在哪?
7、操作控制方法及装置(通过移动终端控制无人机)
主要采用操作手柄及终端联合控制方式,以提高控制精度。
具体控制时,可在终端中安装一个控制应用,对无人机的全部功能进行控制。
当终端与操作手柄建立连接之后,终端将无人机每种功能的参数设置选项显示在界面上,终端检测对任一参数的设置操作,生成相应的调节指令,发送至操作手柄,再通过手柄发送至无人机,完成调节调节。
盘点小米无人机专利:雷军的底气在哪?
盘点小米无人机专利:雷军的底气在哪?
8、变焦实现方法及装置、电子设备(非创新类专利)
此专利的目的是使采用定焦镜头的图像采集设备实现变焦。
首先获取用户输入的目标变焦倍数,然后确定图像传感芯片上对应于目标变焦倍数的目标感光像素区域,最后控制图像传感芯片仅对目标感光像素区域执行扫描操作,并输出扫描得到的图像数据。
9、一种遥控器的移动终端固定组件及遥控器
可以将移动设备放在遥控器上,从而在遥控器上通过移动终端了解飞行器的飞行状态,并进行相应的操作。
绝大部分遥控器都有类似的功能。
盘点小米无人机专利:雷军的底气在哪?
10、存储飞行器采集的多媒体信息的方法和装置(实用性专利)
飞行器起飞时会有字母信息记录各种飞行状态,包括相机和飞行器姿态等,并存储在视频文件中,字幕信息则存储在字幕文件中。
这可让字幕信息和视频信息能同步生成,且分离式存储、相互不受影响,同时也缩短了视频信息的编码时间。
盘点小米无人机专利:雷军的底气在哪?
据了解,目前小米已经拥有约33项无人机专利,涵盖飞行器结构、遥控、飞控、图传、相机等多个方面。
目前获悉的这些,在市面上其他品牌的产品中很多都可以找到,小米更多地是做了一些调整和改进。当然,这是小米第一次做无人机,进行足够的技术和专利储备是很必须要的。
相信未来还会有更多专利曝光,尤其是创新性方面的。
最关键的是,按照小米一贯的策略,其无人机必然在价格上会极具冲击力,应该远远低于大疆、零度、Yuneec等已有品牌。
“年轻人的第一架无人机”,想要吗?
盘点小米无人机专利:雷军的底气在哪?
来源: uavsnews
最新活动
往届回顾