导读
就在今天,在行家说APP上看了几篇关于COB的文章《适合做射灯?COB到底骗了谁》、《工程师和产品经理论完COB后,我也说几句》,作为一名专利分析人员实在是憋不住了……
各位前辈已经讨论过COB封装的技术特征、优点和缺点和产品发展,如前文所述COB产品的形式种类繁多,本文以将限定在芯片直接固定在线路板或者其他类型的基板上为COB,即COB(Chip On Board)封装是指将LED芯片用导电或非导电胶粘附在互连基板上,芯片与线路板间通过引线键合进行电气连接的LED封装技术。其可以在一个很小的区域内封装几十甚至上百个芯片,最后形成面光源。
裸芯片直接暴露在空气中,容易受到污染或者人为因素导致芯片功能受到影响和破坏,于是就用胶把芯片和键合引线包封起来。
要点
NEWS
﹀
﹀
﹀
最早COB专利
目前检索到COB封装最早的专利为美国IBM公司在1975年04月10日申请的专利号为US05788179的美国专利,IBM公司为该专利在日本、德国、法国、英国都申请了同组专利,然而说再多都没有,该专利已经失效并且没有检索到权力要求书,我们还是回到现在的世界。
图1 US05788179附图
谁才有核心专利
原来的分析报告是这样写的:在COB封装技术领域,专利申请在2008年之前数量很少,从2004年专利申请量逐年上升,并从2004年进入专利申请量上升快速通道,到2012年达到了专利申请数量的高峰,由此可以推断出从2004年起COB封装就开始生产……
笔者实在不想各位读者背数据,但是知道各位非常关心所谓“核心专利”,对于谁是COB专利的真正持有者笔者没有定论,我们从全球约2600件篇申请专利里,通过科学的排序(根据该分支中相关专利文献的被引用情况、专利家族、权利要求项以及申请人等方面),筛选出几件专利作为分析案例,作为各位讨论COB专利的引子。
松下电工株式会社US10466114专利:
该专利最早应该由松下电工株式会社在2002年8月28日WIPO申请专利,并被引证过20次;但是其在美国同族专利US10466114在2003年07月22日申请,主要保护一种既能提高散热性同时又能高效地向装外部引出来自发光二极管(LED)管芯的光的发光装置,包括由铝构成的金属板,金属板具有向前方突出的突出部,在突出部(11a)的前面上形成有容纳凹槽。
LED芯片被装载在容纳凹槽的底面上,由于与金属板热结合,所以散热性提高。在与金属板的前面接合的由玻璃环氧树脂基板构成的印刷电路板上贯通设置着插入突出部的插入孔。所述LED芯片和焊接导线被透明的树脂密封部密封。
该专利一共被引用了319次,并且三星公司的13件相关专利引用该专利;LG公司的22件相关专利引用该专利;Cree公司的14件相关专利引用该专利;日亚公司的5件相关专利引用该专利。
各位知道有多厉害了?
图2 US10466114附图
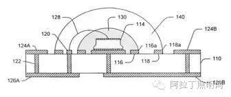
Cree公司US7365371B2专利
Cree公司是全球著名的集LED外延、芯片、封装、LED照明解决方案、化合物半导体材料、功率器件和射频等领域技术于一体的行业领先者和综合解决方案提供者。已拥有1,100多件美国已授权专利和1,000多件美国在审专利申请,并在美国之外的全球各个国家和地区布局了近4,500件专利,其中已授权2,000余件,当然少不了COB封装专利,与COB相关的专利有超过50件美国专利。
仍在保护期限的COB专利申请于2005年8月4日,该专利保护:一种装配LED芯片的下底座包括衬底、配置以接收衬底上表面上的LED芯片的管芯附着垫、在衬底上围绕该管芯附着垫并限定衬底上表面的第一密封区的第一弯月形控制特征、和在衬底上围绕第一密封区并限定衬底上表面的第二密封区的第二弯月形控制特征。第一和第二弯月形控制特征可与管芯附着垫基本共面。
封装的LED包括如上所述的下底座并且进一步包括管芯附着垫上的LED芯片、第一密封区内的衬底上的第一密封剂、和第二密封区内的并且覆盖第一密封剂的衬底上的第二密封剂。围绕该专利Cree公司还公开方法专利和灯具专利,有16件同族专利,并被引用47次。
图3 US7365371B2附图
西铁城JP2004304041A专利
西铁城公司有近100件与COB相关专利,其中最早专利申请于2003年03月31日,在日本、美国、德国、中国有同族专利,并被引用7次,日本语笔者不懂。该专利中国同族专利权利要求:
图4 JP2004304041A中国同族专利权利要求
你说厉不厉害?
总体趋势
由于COB封装技术是将LED芯片直接固定的印制线路板上,灯珠的间距较小,影响了散热效果,特别是开发大功率的COB封装。
因此,未来COB封装的技术发展方向是具有散热功能的基板、新型封装胶、开发高效的LED芯片、设计和优化整体散热结构,从而开发出具有更多性能的光源。
图5 COB专利主要申请人排名
由图5可知,全球在COB集成LED技术领域的专利主要集中在韩国和日本,专利权人为韩国的SAMSUNG ELECTRO MECH、SEOUL SEMICONDUCTOR CO LTD及日本的ROHM CO LTD、PANASONIC ELEC WORKS COLTD、CITIZEN ELECTRONICS、TOSHIBA CORP等全球知名的半导体生产企业。
写到这里如果总结成:
通过对COB封装专利的分析可知,中国在原创专利申请上数量已经有很大进步,日本紧随其后,美国、韩国位居第三、第四。国内企业应该适当的注意扩展研究领域,争取在COM封装投入研究力量,加强弱势领域的发展力度,加大专利布局力度,增强我国封装的核心技术。
有没有一种想抽笔者的冲动。为了避免挨打,推荐阅读以下专利:
如果需要做竞争对手分析,可以跟踪分析朗明纳斯、友嘉科技股份有限公司、广州硅能照明有限公司、福建中科芯源光电科技有限公司、深圳市凯信光电有限公司、佛山国星光电股份有限公司等公司COB研发动态。
最后建议
技术方向提升光效:提高封装支架、基板的反光效率、增加凹槽结构层以及采用多杯集成式COB封装技术来。
技术方向散热:使用陶瓷基板、介电层散热功能MCPCB来改进散热。
如果要申请专利,就多花点时间和经历,好好撰写申请文件。
文章来源| LED产业专利联盟
图片来源| LED产业专利联盟、百度图库
专利分析数据来源| 中外专利数据服务平台
作者 | 王华 陶炳志
登载此文出于传递更多信息,只作分享交流之用,并不意味着赞同其观点或证实其描述。
ID:alighting_gy
长按左侧二维码关注
【咨询交流】添加A君微信:1497591674
【投稿联系】林小姐:ljx@alighting.cn
点击下方“阅读原文”
